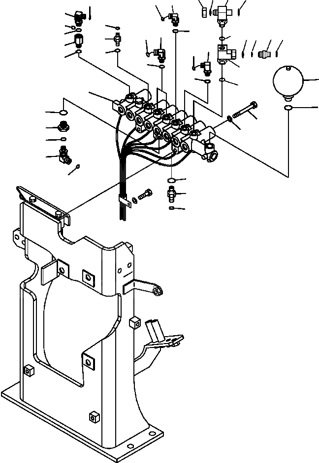
Запчасти Komatsu PC350LL-7E0 H8-H КЛАПАН PPCСОЛЕНОИДНЫЙ КЛАПАН ГИДРАВЛИКА

Схема запчастей Komatsu PC350LL-7E0 - H8-H КЛАПАН PPCСОЛЕНОИДНЫЙ КЛАПАН ГИДРАВЛИКА
9
7
22
21
22
19
23
16
8
4
5
3
6
17
23
18
12
20
13
23
23
23
2
23
32
23
1
33
28
34
27
35
31
29
26
30
24
25
10
11
14
15
FIT
1:1
100%

Артикул

Название

Примечание

Количество

2

207-62-61680

TEE

3

20Y-62-16630

NIPPLE

4

201-60-11390

O-RING

5

20Y-62-19560

O-RING

6

07002-11423

O-RING

7

11Y-62-12820

TEE

8

07002-11423

O-RING

9

02896-11008

O-RING

10

02896-11009

O-RING

11

02789-00210

NUT

12

207-62-72120

ELBOW

13

02896-11008

O-RING

14

11Y-62-12160

ELBOW

15

02896-11008

O-RING

16

21W-62-42490

ELBOW

17

02896-11009

O-RING

18

11Y-62-12130

NIPPLE

19

02896-11009

O-RING

20

21M-62-16350

ADAPTER

21

207-62-72141

ELBOW

22

02896-11008

O-RING

23

07002-11423

O-RING

24

02781-00422

UNION

25

02896-11012

O-RING

26

07002-12034

O-RING

27

20Y-62-21940

FILTER ASSEMBLY

28

07002-12034

O-RING

29

21W-62-42490

ELBOW

30

02896-11009

O-RING

31

07002-11423

O-RING

32

20Y-60-A1221

ACCUMULATOR

32

20Y-60-A1220

ACCUMULATOR

33

07002-12034

O-RING

34

01010-81095

BOLT

35

01643-31032

WASHER

Выбрано товаров: 35