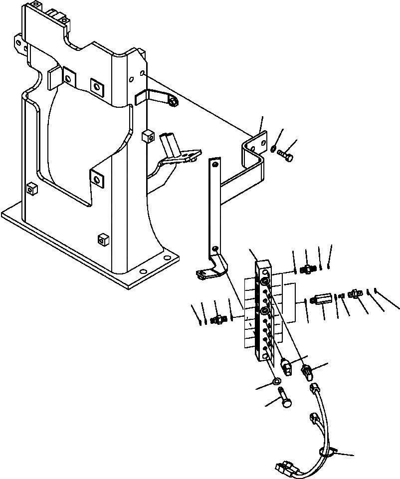
Запчасти Komatsu PC350LL-7E0 H8-H БЛОК ПЕРЕКЛЮЧЕНИЯ ДАВЛЕНИЯ ГИДРАВЛИКА

Схема запчастей Komatsu PC350LL-7E0 - H8-H БЛОК ПЕРЕКЛЮЧЕНИЯ ДАВЛЕНИЯ ГИДРАВЛИКА
15
17
16
2
3
14
1
4
4
1
3
2
8
9
7
5
10
6
11
12
13
20
19
18
FIT
1:1
100%

Артикул

Название

Примечание

Количество

1

20Y-62-16630

NIPPLE

2

201-60-11390

O-RING

3

20Y-62-19560

O-RING

4

07002-11423

O-RING

|$4

20Y-60-22201

VALVE ASSEMBLY

5

20Y-60-11750

POPPET

6

20Y-60-22350

BODY

7

20Y-62-22410

NIPPLE

8

201-60-11390

O-RING

9

20Y-62-19560

O-RING

10

07002-01423

O-RING

11

07002-11423

O-RING

12

206-06-61130

SWITCH

13

7861-93-1840

SENSOR

14

207-62-74980

BLOCK

15

207-62-74622

BRACKET

16

01010-81235

BOLT

17

01643-31232

WASHER

18

08034-20536

STRAP, TIE

19

01010-81260

BOLT

20

01643-31232

WASHER

Выбрано товаров: 21