Запчасти Komatsu PC350NLC-8 ЛЕВ. ДВЕРЬ (КАБИНА) (№K-K9) M ЧАСТИ КОРПУСА

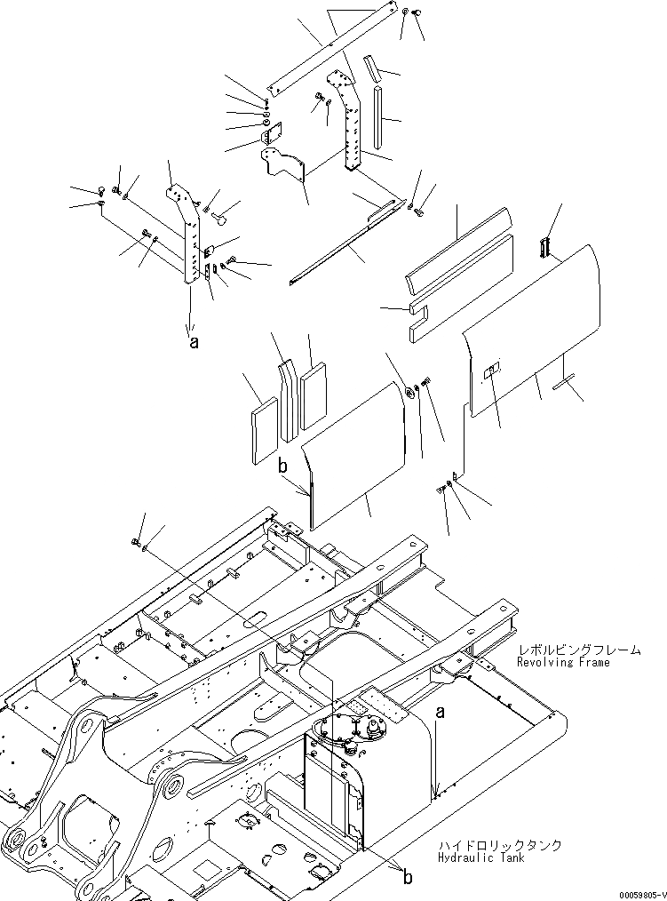
Схема запчастей Komatsu PC350NLC-8 - ЛЕВ. ДВЕРЬ (КАБИНА) (№K-K9) M ЧАСТИ КОРПУСА
43
44
45
46
47
19
18
9
16
17
15
12
38
37
38
39
32
6
42
28
24
23
3
5
4
30
29
1
8
7
31
22
10
11
2
34
35
13
14
33
20
21
40
41
36
26
27
25
40
41
FIT
1:1
100%

Артикул

Название

Примечание

Количество

1

207-54-76121

FRAME

2

207-54-76140

FRAME

3

208-54-71380

FRAME

4

01010-81225

BOLT

5

01643-31232

WASHER

6

207-54-76210

PLATE

7

01010-81220

BOLT

8

01643-31232

WASHER

9

20Y-54-61470

PLATE

10

01010-81225

BOLT

11

01643-31232

WASHER

12

20Y-54-28170

BRACKET

13

01010-81225

BOLT

14

01643-31232

WASHER

15

205-54-51971

DOVETAIL

16

01010-80616

BOLT

17

01643-30623

WASHER

18

20Y-54-11611

STOPPER

19

01580-11008

NUT

20

208-54-71212

COVER

21

198-54-41982

LOCK ASSEMBLY (WELDED)

22

20Y-54-63414

HINGE (WELDED)

23

01010-81225

BOLT

24

01643-31232

WASHER

25

205-54-53550

DOVE TAIL

26

01010-80612

BOLT

27

01643-30623

WASHER

28

20Y-54-29231

BAR

29

208-54-73710

SHEET

30

208-54-73720

SHEET

31

208-54-73821

SHEET

32

208-54-73830

SHEET

33

207-54-77290

SHEET

34

01010-81230

BOLT

35

01643-31232

WASHER

36

207-54-78431

COVER

37

208-54-73131

SHEET

38

207-54-76130

SHEET

39

203-54-62670

COLLAR

40

01010-81230

BOLT

41

01643-31232

WASHER

42

207-54-76161

BRACKET

43

01010-81050

BOLT

44

01643-31032

WASHER

45

207-03-75590

PLATE

46

195-03-41380

CUSHION

47

207-54-76190

SHEET

Выбрано товаров: 47