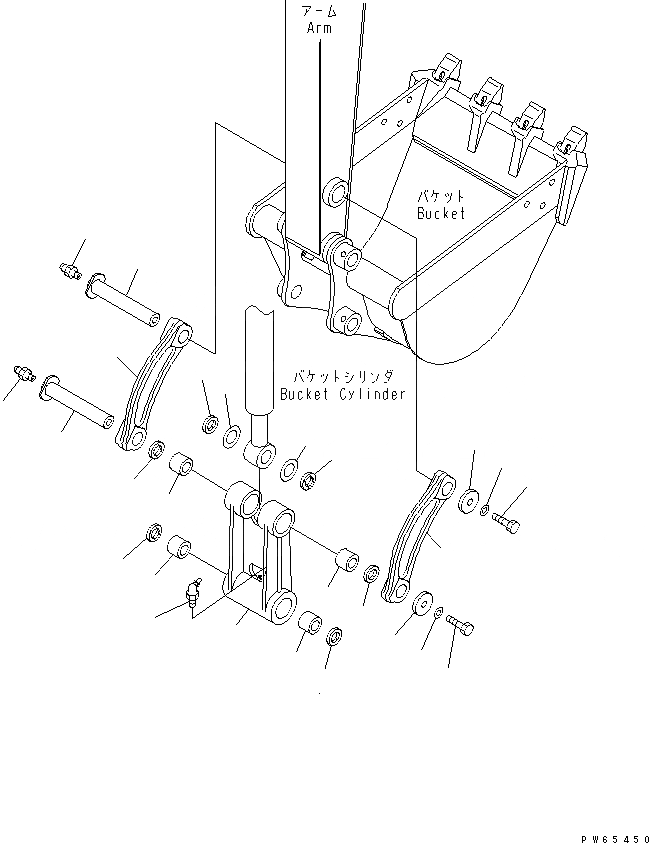
Запчасти Komatsu PC35MR-1 СОЕДИНЕНИЕ КОВША (ДЛЯ GEOМАЧТАER)(№9-) РАБОЧЕЕ ОБОРУДОВАНИЕ

Схема запчастей Komatsu PC35MR-1 - СОЕДИНЕНИЕ КОВША (ДЛЯ GEOМАЧТАER)(№9-) РАБОЧЕЕ ОБОРУДОВАНИЕ
1
2
2
3
3
4
4
4
4
4
4
5
6
7
8
8
9
9
10
10
11
11
12
12
13
13
FIT
1:1
100%

Артикул

Название

Примечание

Количество

|1

22F-70-14180

LINK ASS'Y

1

LINK

2

20S-70-11270

BUSHING

3

20S-70-71880

BUSHING

4

07145-00035

SEAL

5

07020-00675

FITTING,GREASE

6

22L-70-11511

LINK,L.H.

7

22L-70-11521

LINK,R.H.

8

21U-70-31741

PIN

9

07020-00000

FITTING,GREASE

10

20S-70-71270

PLATE

11

01010-81635

BOLT

12

01643-31645

WASHER

13

20S-70-71491

SHIM¤ 2.5MM

Выбрано товаров: 14