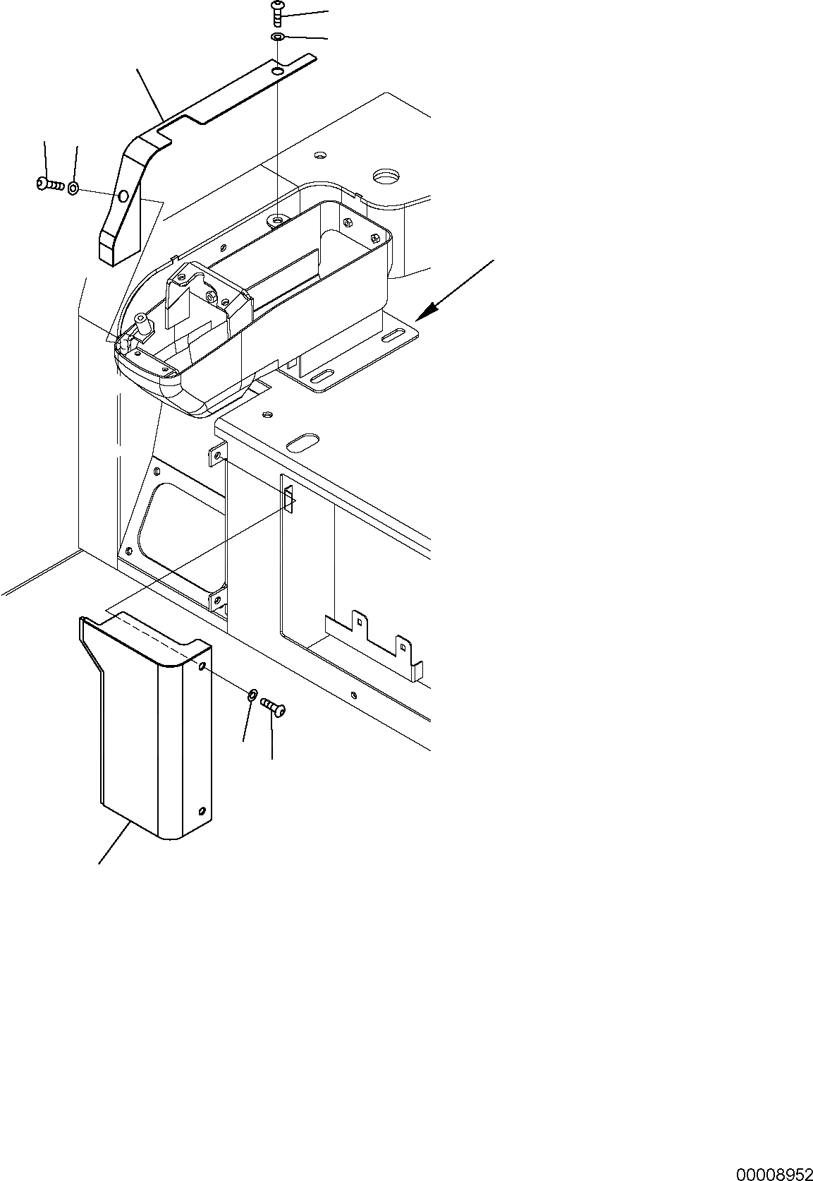
Запчасти Komatsu PC35MR-2 КРЫШКИ (ДЛЯ КАБИНЫ) (/) ЧАСТИ КОРПУСА И КАБИНА

Схема запчастей Komatsu PC35MR-2 - КРЫШКИ (ДЛЯ КАБИНЫ) (/) ЧАСТИ КОРПУСА И КАБИНА
5
6
4
5
6
3
2
1
A
FIT
1:1
100%

Артикул

Название

Примечание

Количество

1

22M-978-2240

COVER

2

01252-70816

BOLT

3

01643-10823

WASHER

4

22M-978-2230

COVER

5

01245-01016

SCREW

6

01643-11032

WASHER

Выбрано товаров: 6