Качественные детали и логистика
Оригинальные и аналоговые запчасти с доставкой по России, Казахстану и Беларуси
©2022 PartSell ООО "Система" ИНН 2463123282 ОГРН 1212400004838
Центральный офис: г. Красноярск, Академика Киренского, д.87, пом.4
Телефон: 8 (800) 777-65-74 Email: zakaz@partsell.ru
СЕРВОУПРАВЛ. УСТР-ВО ПОДАЧИ (/)
№
Артикул
Название
Примечание
Количество
\0
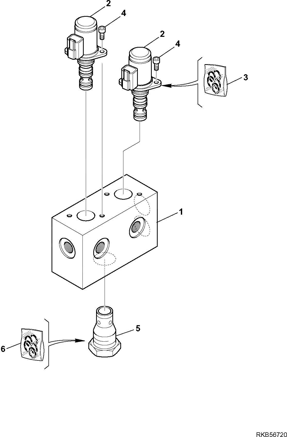
22F-60-R3401
VALVE, ASSY.
1
22L-09-R2060
VALVE
2
42N-64-11720
SOLENOID, ASSY.
3
42N-64-11760
KIT, GASKET
4
21W-09-R3790
SCREW
5
22L-09-R2050
6
42N-64-11770
Выбрано товаров: 0