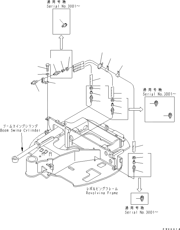
Запчасти Komatsu PC35MRX-1A ЛИНИЯ СМАЗКИ ОСНОВНАЯ РАМА И ЕЕ ЧАСТИ

Схема запчастей Komatsu PC35MRX-1A - ЛИНИЯ СМАЗКИ ОСНОВНАЯ РАМА И ЕЕ ЧАСТИ
1
2
3
4
4
4
4
5
6
6
6
7
7
7
7
8
8
8
8
9
10
11
12
13
14
15
FIT
1:1
100%

Артикул

Название

Примечание

Количество

1

22F-46-11411

TUBE

1

22F-46-11410

TUBE

2

22F-46-11421

TUBE

2

22F-46-11420

TUBE

3

22F-46-11441

TUBE

3

22F-46-11440

TUBE

4

21R-46-11411

NIPPLE

5

20R-46-11160

CONNECTOR

6

20N-46-41231

CONNECTOR

7

07831-00411

SLEEVE

8

07832-00410

NUT

9

07020-00000

FITTING,GREASE

10

22F-46-11430

BRACKET

11

01010-81020

BOLT

12

01643-31032

WASHER

13

04434-51410

CLIP

14

04434-51410

CLIP

15

08034-00310

BAND

Выбрано товаров: 0