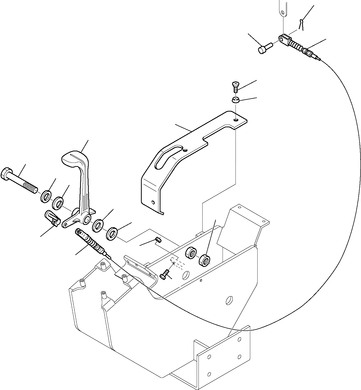
Запчасти Komatsu PC35R-8 DELUXE РЫЧАГ УПРАВЛ-Я ПОДАЧЕЙ ТОПЛИВА СИСТЕМА УПРАВЛЕНИЯ И ОСНОВНАЯ РАМА

Схема запчастей Komatsu PC35R-8 DELUXE - РЫЧАГ УПРАВЛ-Я ПОДАЧЕЙ ТОПЛИВА СИСТЕМА УПРАВЛЕНИЯ И ОСНОВНАЯ РАМА
9
8
6
13
14
12
1
2
3
4
4
5
3
7
11
6
10
FIT
1:1
100%

Артикул

Название

Примечание

Количество

1

312608636

FUEL LEVER

2

801015618

BOLT

3

802170005

WASHER

4

804010086

SPRING

5

801703412

NUT

6

3F1034052

CABLE

6

3F3034053

CABLE

7

802725016

PIN

8

390596039

PIN

9

802610027

PIN, COTTER

10

801015088

BOLT

11

801920104

NUT

12

3F1042705

COVER

13

801250260

SCREW

14

816212687

WASHER

Выбрано товаров: 15