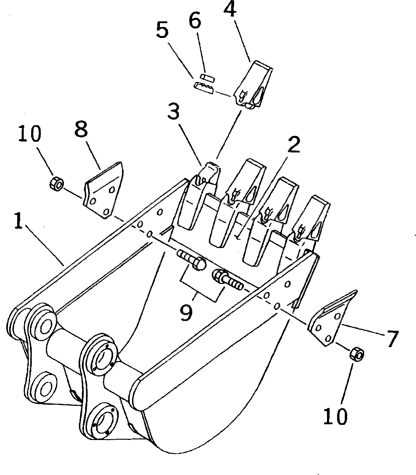
Запчасти Komatsu PC35R-8 КОВШ¤ .8M (MINI .M) MM (ВЕРТИКАЛЬН. ПАЛЕЦ) РАБОЧЕЕ ОБОРУДОВАНИЕ

Схема запчастей Komatsu PC35R-8 - КОВШ¤ .8M (MINI .M) MM (ВЕРТИКАЛЬН. ПАЛЕЦ) РАБОЧЕЕ ОБОРУДОВАНИЕ
FIT
1:1
100%

Артикул

Название

Примечание

Количество

|1

20R-70-00730

BUCKET ASS'Y

1

20R-70-72410

BUCKET,(435MM)

2

20R-70-72420

LIP (WELDED)

3

20T-70-72310

ADAPTER (WELDED)

4

20T-70-72320

TOOTH

5

20T-70-71950

PIN

6

20T-70-71960

LOCK

7

20S-70-71330

CUTTER,SIDE¤ L.H.

8

20S-70-71340

CUTTER,SIDE¤ R.H.

9

20P-70-71351

BOLT

10

20P-70-71360

NUT

Выбрано товаров: 11