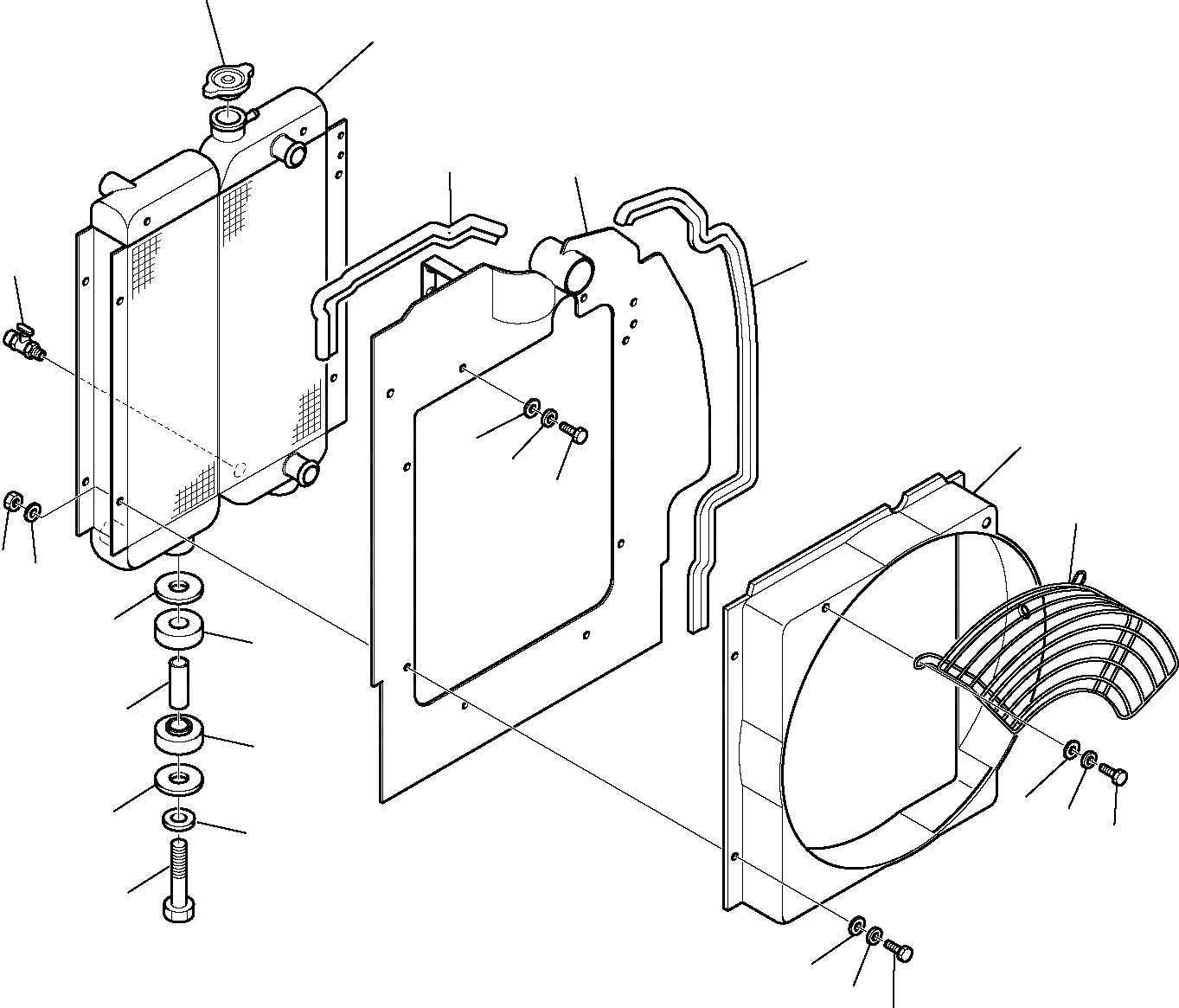
Запчасти Komatsu PC35R-8 РАДИАТОР КОМПОНЕНТЫ ДВИГАТЕЛЯ И ЭЛЕКТРИКА

Схема запчастей Komatsu PC35R-8 - РАДИАТОР КОМПОНЕНТЫ ДВИГАТЕЛЯ И ЭЛЕКТРИКА
2
1
13
3
13
5
4
9
10
11
12
8
9
17
15
16
15
9
17
10
6
7
14
9
10
7
FIT
1:1
100%

Артикул

Название

Примечание

Количество

\0

3F3007065

RADIATOR, ASSY.

1

875600021

RADIATOR

2

875600005

PLUG

3

875600027

SUPPORT

4

875600022

CONVEYOR

5

875600017

COCK

6

802150512

SPRING WASHER

7

801014068

BOLT

8

801703208

NUT, STOP

9

802150508

SPRING WASHER

10

802148009

WASHER

11

801014067

SCREW

12

875600028

PROTECTION

13

875600025

GASKET

14

801014136

BOLT

15

875600018

DAMPER

16

875600026

SPACER

17

875600009

WASHER

Выбрано товаров: 18