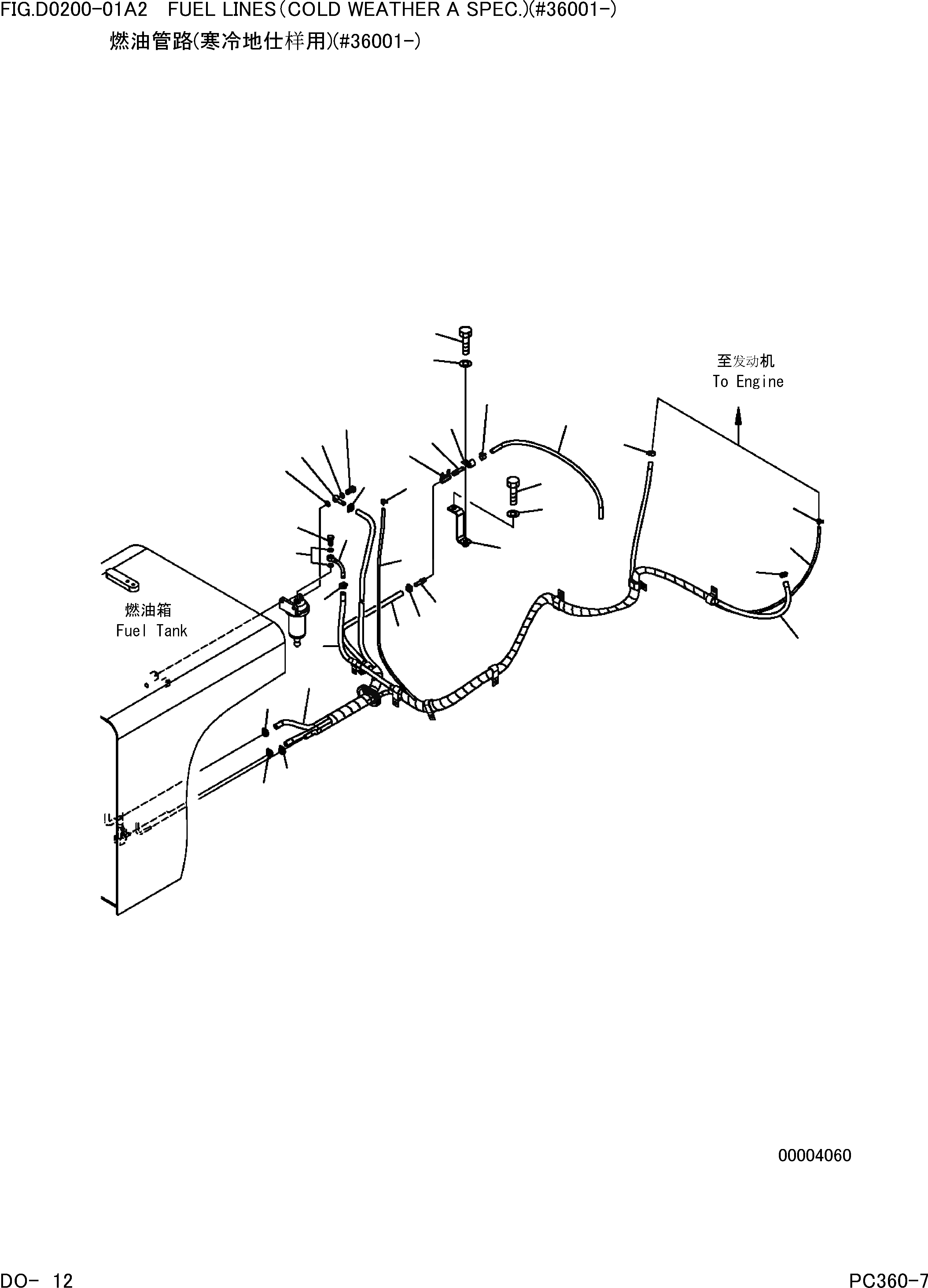
Запчасти Komatsu PC360-7 ТОПЛИВНАЯ ЛИНИЯ(МОРОЗОУСТОЙЧИВ. СПЕЦИФ-Я)(№8-)(WSTD) ТОПЛИВН. БАК. AND КОМПОНЕНТЫ]

Схема запчастей Komatsu PC360-7 - ТОПЛИВНАЯ ЛИНИЯ(МОРОЗОУСТОЙЧИВ. СПЕЦИФ-Я)(№8-)(WSTD) ТОПЛИВН. БАК. AND КОМПОНЕНТЫ]
6
7
1
5
3
17
18
19
15
16
20
21
23
24
22
7
1
15
4
2
5
3
2
4
8
6
11
9
11
10
8
12
13
14
FIT
1:1
100%

Артикул

Название

Примечание

Количество

1

07270-50437

TUBE

2

07288-01009

HOSE

3

07288-01031

HOSE

4

07281-00197

CLAMP

5

07281-00197

CLAMP

6

07281-00167

CLAMP

7

07285-00080

CLIP

8

07281-00197

CLAMP

9

205-04-62150

JOINT

10

07206-31014

BOLT

11

07005-01412

GASKET

12

203-04-56150

JOINT

13

07206-31014

BOLT

14

07005-01412

GASKET

15

154-04-11540

NIPPLE

16

07700-50240

VALVE

17

07270-01060

TUBE

18

07285-00115

CLIP

19

04434-51612

CLIP

20

01010-81225

BOLT

21

01643-31232

WASHER

22

20Y-04-21540

BRACKET

23

01010-81225

BOLT

24

01643-31232

WASHER

Выбрано товаров: 24