Запчасти Komatsu PC360-8M0 РУКОЯТЬ (MM РУКОЯТЬЈ¬ ЧАС. СМАЗКА IN TERVALЈ© T [РАБОЧЕЕ ОБОРУДОВАНИЕ]

Схема запчастей Komatsu PC360-8M0 - РУКОЯТЬ (MM РУКОЯТЬЈ¬ ЧАС. СМАЗКА IN TERVALЈ© T [РАБОЧЕЕ ОБОРУДОВАНИЕ]
6
2
5
2
6
8
7
3
1
5
3
7
7
4
4
7
5
FIT
1:1
100%

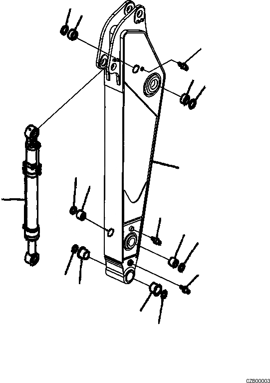
Артикул

Название

Примечание

Количество

1

207-944-D101

ARM A.

2

207-70-D9860

BUSHING

3

207-70-32150

BUSHING

4

207-70-72460

BUSHING

5

07020-00000

FITTING

6

07145-00110

SEAL

7

207-70-D2120

SEAL

|$8

207-70-72120

SEAL

8

707-H1-X2470

CYLINDER G.

Выбрано товаров: 9