Запчасти Komatsu PC360LC-10 БЛОК ПЕРЕКЛЮЧЕНИЯ ДАВЛЕНИЯ, ДЛЯ СТРАН ЕС ARRANGEMENT БЛОК ПЕРЕКЛЮЧЕНИЯ ДАВЛЕНИЯ, ДЛЯ СТРАН ЕС ARRANGEMENT

Схема запчастей Komatsu PC360LC-10 - БЛОК ПЕРЕКЛЮЧЕНИЯ ДАВЛЕНИЯ, ДЛЯ СТРАН ЕС ARRANGEMENT БЛОК ПЕРЕКЛЮЧЕНИЯ ДАВЛЕНИЯ, ДЛЯ СТРАН ЕС ARRANGEMENT
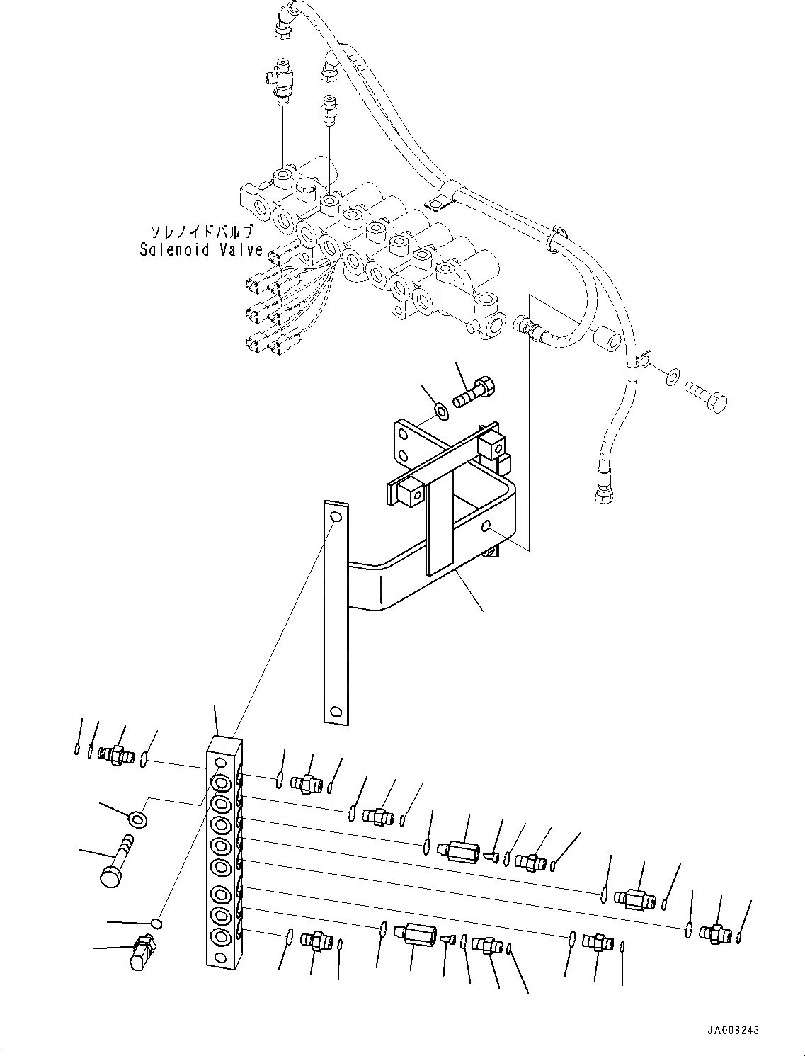
20
19
18
1
7
4
6
5
15
9
17
15
8
16
15
11
10
13
12
16
15
14
17
15
9
17
15
9
17
15
11
10
13
12
16
15
8
16
2
21
22
3
FIT
1:1
100%

Артикул

Название

Примечание

Количество

1

2A5-62-12771

Block

2

7861-93-1840

Sensor

3

07000-12011

O-ring

4

20Y-62-16630

Nipple

5

201-60-11390

O-ring

6

20Y-62-19560

O-ring

7

07002-11423

O-ring

8

11Y-62-12130

Nipple

9

11Y-62-12520

Union

9

207-60-71400

Valve Assembly

10

20Y-60-11750

Poppet

11

Body

12

21W-62-43930

Nipple

13

07002-11423

O-ring

14

20U-62-41730

Union

15

07002-11423

O-ring

16

02896-11008

O-ring

17

02896-11009

O-ring

18

207-62-45620

Bracket

19

01010-81235

Bolt

20

01643-31232

Washer

21

01010-81265

Bolt

22

01643-31232

Washer

Выбрано товаров: 23