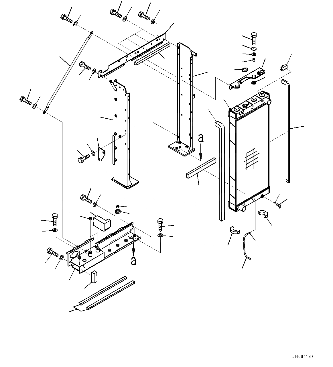
Запчасти Komatsu PC360LC-10 СИСТЕМА ОХЛАЖДЕНИЯ, РАДИАТОР (№7-) СИСТЕМА ОХЛАЖДЕНИЯ, С АВТОМАТИЧ. КОНДИЦ. ВОЗДУХА

Схема запчастей Komatsu PC360LC-10 - СИСТЕМА ОХЛАЖДЕНИЯ, РАДИАТОР (№7-) СИСТЕМА ОХЛАЖДЕНИЯ, С АВТОМАТИЧ. КОНДИЦ. ВОЗДУХА
33
24
11
2
1
12
6
7
8
10
9
4
14
13
18
20
25
26
30
31
29
36
3
15
15
16
17
19
21
23
22
28
27
28
27
29
30
31
32
35
34
34
35
38
37
39
40
41
43
42
5
FIT
1:1
100%

Артикул

Название

Примечание

Количество

1

207-03-41111

Radiator Assembly

2

207-03-42111

Seal

3

207-03-42461

Seal

4

207-03-42511

Seal

5

207-03-42251

Seal

6

207-03-42461

Seal

7

207-03-41991

Seal

8

20Y-03-22110

Cap

9

205-03-71230

Hose

10

20Y-03-11330

Clip

11

205-03-62660

Plug

12

07000-11007

O-ring

13

207-03-41551

Bracket

14

14X-03-51640

Spacer

15

14X-03-51621

Cushion

16

14X-03-51770

Washer

17

01010-81045

Bolt

18

207-03-41181

Frame

19

207-03-41191

Frame

20

207-03-41211

Frame

21

207-03-42531

Seal

22

01010-81235

Bolt

23

01643-31232

Washer

24

01010-81225

Bolt

25

01643-31232

Washer

26

207-03-41221

Frame

27

01010-81030

Bolt

28

01643-31032

Washer

29

01010-81020

Bolt

30

01643-31032

Washer

31

22B-03-12590

Cushion

32

208-03-71380

Cushion

33

207-03-41330

Stay

34

01010-81235

Bolt

35

01643-31232

Washer

36

207-03-41580

Bracket

37

01010-81230

Bolt

38

01643-31232

Washer

39

207-03-42171

Seal

40

207-03-42131

Seal

41

208-03-71821

Seal

42

01010-81235

Bolt

43

01643-31232

Washer

Выбрано товаров: 43