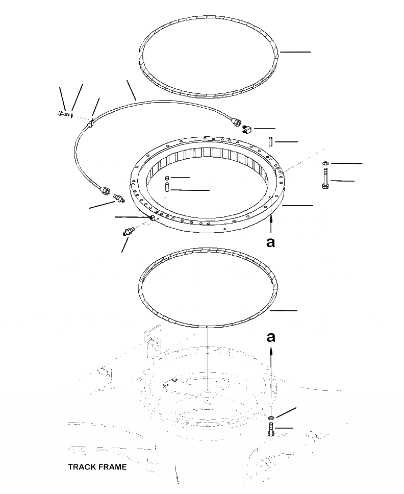
Запчасти Komatsu PC360LC-10 N-A ПОВОРОТН. КРУГ ПОВОРОТН. КРУГ И КОМПОНЕНТЫ

Схема запчастей Komatsu PC360LC-10 - N-A ПОВОРОТН. КРУГ ПОВОРОТН. КРУГ И КОМПОНЕНТЫ
1
2
3
4
5
6
6
7
8
9
2
10
11
12
13
14
15
16
FIT
1:1
100%

Артикул

Название

Примечание

Количество

1

207-25-00200

SWING CIRCLE

2

207-25-61160

SEAL

3

205-25-71280

NIPPLE

4

207-25-41130

BOLT

5

01643-72780

WASHER, FLAT

6

04020-01842

PIN, DOWEL

7

20Y-46-21520

CAP

8

07214-50813

CONNECTOR

9

207-25-41110

TUBE

10

20Y-25-11270

ELBOW

11

08036-00814

CLIP

12

01010-81020

BOLT

13

01643-31032

WASHER

14

07020-00000

FITTING, GREASE

15

207-25-75110

BOLT

16

01643-72460

WASHER, FLAT

Выбрано товаров: 16