Запчасти Komatsu PC360LC-10 AOP- ПОДДОН ДВИГ-ЛЯ ДВИГАТЕЛЬ

Схема запчастей Komatsu PC360LC-10 - AOP- ПОДДОН ДВИГ-ЛЯ ДВИГАТЕЛЬ
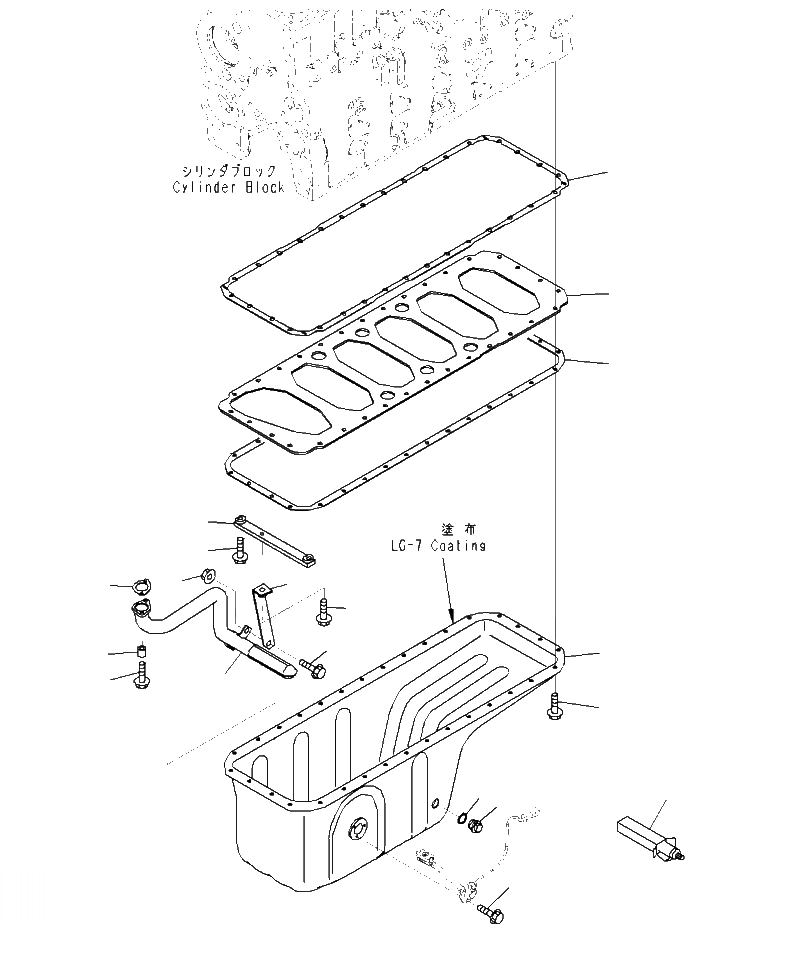
1
2
3
4
5
6
7
8
9
10
11
12
13
14
15
16
17
18
19
FIT
1:1
100%

Артикул

Название

Примечание

Количество

1

6745-21-5211

PAN

2

6745-21-5130

GASKET

3

1307 596 H1

GASKET

4

1304 891 H1

PLATE

5

6732-21-6630

SCREW

6

6736-21-5320

PLUG

7

6732-21-5170

GASKET

8

01435-60612

BOLT

9

6743-51-5522

CONNECTOR

10

6742-01-2630

BOLT

11

6742-01-0310

SPACER

12

6743-51-5550

GASKET

13

6743-51-6121

BRACE

14

6733-71-5840

BOLT

15

6743-51-6161

BRACE

16

01435-61025

BOLT

17

01435-01020

BOLT

18

6736-81-6170

NUT

19

09920-00150

LIQUID GASKET, LG-7, 150G

Выбрано товаров: 19