Запчасти Komatsu PC380LC-6K ГИДР. БАК. (БАК)(№K-) ГИДРАВЛИКА

Схема запчастей Komatsu PC380LC-6K - ГИДР. БАК. (БАК)(№K-) ГИДРАВЛИКА
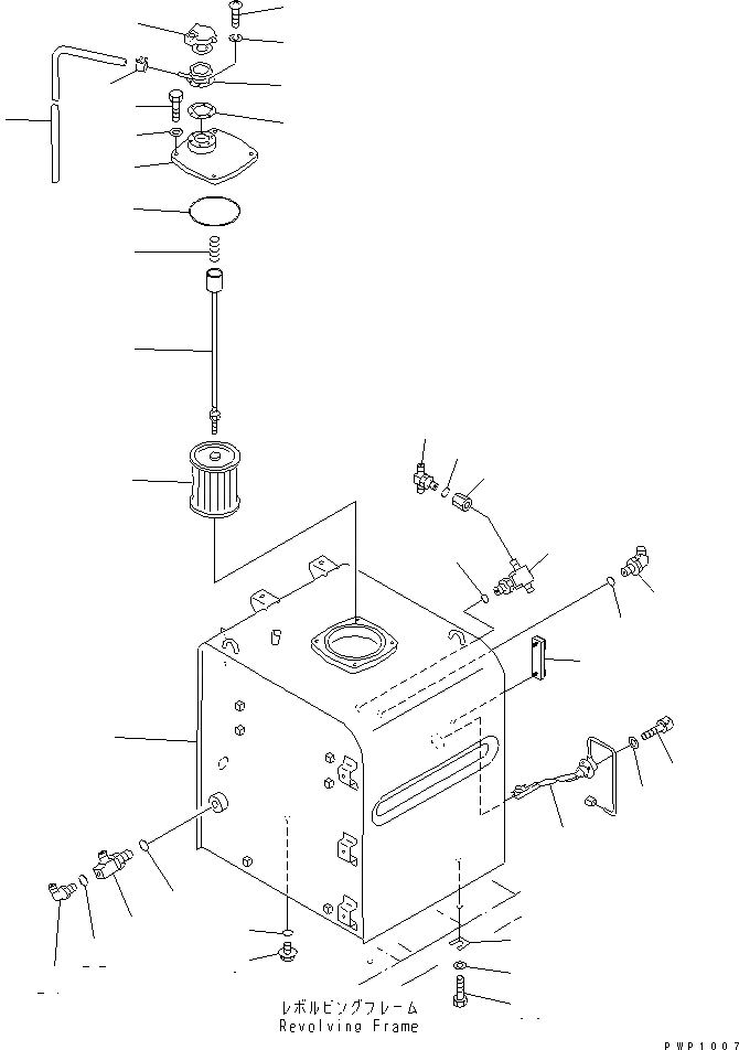
1
2
3
4
5
6
7
8
9
10
11
12
13
14
15
16
17
18
19
20
21
22
23
24
25
26
27
28
29
30
31
32
33
34
35
FIT
1:1
100%

Артикул

Название

Примечание

Количество

|1

207-60-K1203

TANK ASS'Y,HYDRAULIC

1

TANK

2

20Y-60-K1480

GAUGE

3

07044-12412

PLUG

4

07002-12434

O-RING

5

20E-60-K1210

COVER

6

07000-15180

O-RING

7

01010-81235

BOLT

8

01643-31232

WASHER

|9

207-60-K1170

STRAINER ASS'Y

9

207-60-K1160

ROD ASS'Y

10

207-60-51200

STRAINER

11

12R-60-11230

SPRING

12

17A-60-11310

CAP ASS'Y

13

20Y-60-21460

NECK

14

20Y-60-21340

GASKET

15

01220-40516

SCREW

16

01601-20513

WASHER,SPRING

17

07270-61512

TUBE

18

07285-00155

CLIP

19

207-62-62780

TEE

20

07002-12434

O-RING

21

07235-10522

ELBOW

22

07002-12434

O-RING

23

07236-11034

ELBOW

24

07002-13334

O-RING

25

209-62-27580

TEE

26

07002-12034

O-RING

27

20Y-62-21880

JOINT

28

07002-12034

O-RING

29

209-62-27580

TEE

30

01010-81635

BOLT

31

01643-31645

WASHER

32

195-03-11570

SHIM¤ 1.0MM

33

7861-92-4210

SENSOR

34

01252-40612

BOLT

35

01641-20608

WASHER

Выбрано товаров: 37