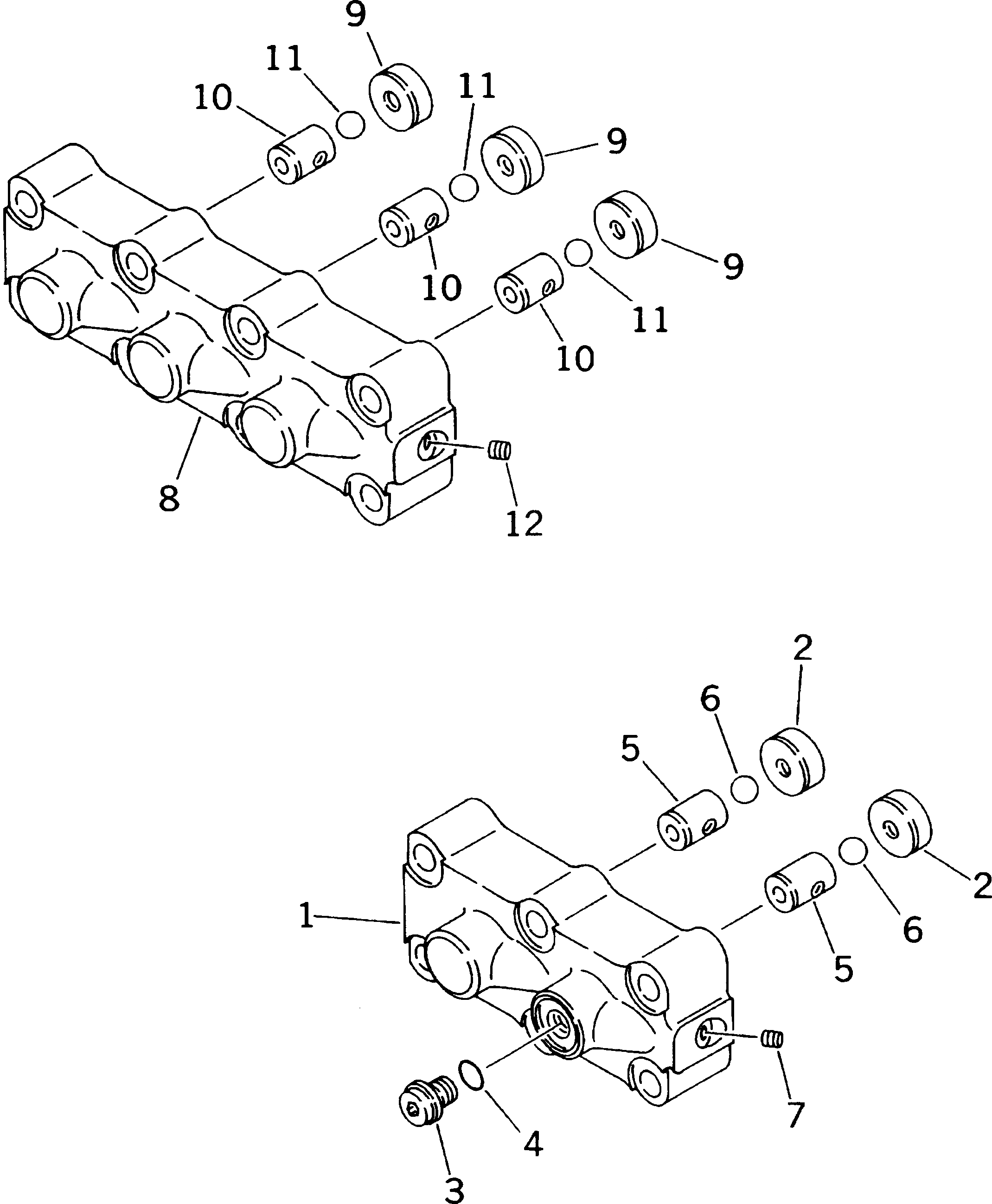
Запчасти Komatsu PC380LC-6K ОСНОВН. КЛАПАН (8 СЕКЦ.) (/) ГИДРАВЛИКА

Схема запчастей Komatsu PC380LC-6K - ОСНОВН. КЛАПАН (8 СЕКЦ.) (/) ГИДРАВЛИКА
FIT
1:1
100%

Артикул

Название

Примечание

Количество

|1

723-48-16101

CONTROL VALVE

|1

723-40-66100

VALVE ASS'Y

1

CASE

2

SEAT

3

708-8E-16160

PLUG

4

07002-11023

O-RING

5

SEAT

6

BALL

7

PLUG

|8

723-40-66200

VALVE ASS'Y

8

CASE

9

SEAT

10

SEAT

11

BALL

12

PLUG

Выбрано товаров: 15