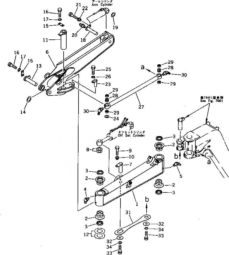
Запчасти Komatsu PC38UU-1 2 И 3-Я СТРЕЛА РАБОЧЕЕ ОБОРУДОВАНИЕ

Схема запчастей Komatsu PC38UU-1 - 2 И 3-Я СТРЕЛА РАБОЧЕЕ ОБОРУДОВАНИЕ
FIT
1:1
100%

Артикул

Название

Примечание

Количество

|1

21X-70-00200

BOOM ASS'Y,2ND

1

BOOM,2ND

2

21X-70-11390

BUSHING

G-1

21X-70-X1210

2ND BOOM SEAL GROUP

3

07145-00070

SEAL,DUST

4

07020-00900

FITTING,GREASE

5

07020-00675

FITTING,GREASE

6

21X-70-11140

BOOM,3RD

G-2

21X-70-X1200

BOOM PIN GROUP

7

21X-70-11220

PIN

8

20T-70-19130

SPACER¤ 1.0MM

9

01010-51635

BOLT

10

20T-70-41160

SPACER

11

21X-70-11250

PIN

12

203-70-34270

SPACER¤ 0.5MM

|12

203-70-11210

SPACER¤ 1.0MM

|12

203-70-11220

SPACER¤ 2.0MM

13

21X-70-11211

PIN

14

20T-70-19130

SPACER¤ 1.0MM

15

21X-70-11310

PLATE

16

01010-51225

BOLT

17

01643-31232

WASHER

18

21X-70-11190

PIN

19

20R-70-11260

SPACER¤ 1.0MM

20

07020-00000

FITTING,GREASE

21

01010-51230

BOLT

22

20S-70-31180

SPACER

23

21X-70-11230

PIN

24

21X-70-11340

SPACER¤ 1.0MM

25

01010-51225

BOLT

26

20S-70-31180

SPACER

|27

21X-70-00400

LINK ASS'Y,SUB

27

LINK,SUB

28

07144-10303

BUSHING

G-3

21X-70-X1310

SUB LINK SEAL GROUP

29

07145-00030

SEAL,DUST

30

07020-00675

FITTING,GREASE

G-4

21X-70-X1901

SAFETY PARTS GROUP

G-4

21X-70-X1900

SAFETY PARTS GROUP

31

21X-70-11360

PLATE

32

20U-70-11370

HOLDER

33

01010-51230

BOLT

34

01643-31232

WASHER

Выбрано товаров: 43