Запчасти Komatsu PC38UU-1 СТРЕЛА OFFSET ЦИЛИНДР РАБОЧЕЕ ОБОРУДОВАНИЕ

Схема запчастей Komatsu PC38UU-1 - СТРЕЛА OFFSET ЦИЛИНДР РАБОЧЕЕ ОБОРУДОВАНИЕ
FIT
1:1
100%

Артикул

Название

Примечание

Количество

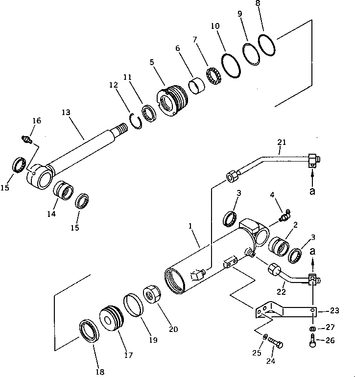
G-1

21X-63-X2040

OFFSET CYLINDER G.

|1

21X-63-02040

CYLINDER ASS'Y,BOOM OFFSET

1

21X-63-86140

CYLINDER

2

07144-10405

BUSHING

3

07145-00045

SEAL,DUST

4

07020-00675

FITTING,GREASE

5

707-29-85830

HEAD,CYLINDER

6

07177-04530

BUSHING

7

707-51-45210

PACKING,ROD

8

07000-12080

O-RING

9

707-35-52770

RING,BACK-UP

10

07000-02085

O-RING

11

112-63-15370

SEAL,DUST

12

07179-12057

RING,SNAP

13

21X-63-86120

ROD

14

07144-10405

BUSHING

15

07145-00045

SEAL,DUST

16

07020-00000

FITTING,GREASE

17

707-36-85070

PISTON

18

707-44-85180

RING,PISTON

19

707-39-85120

RING,WEAR

20

07165-13033

NUT

21

21X-63-86170

TUBE

22

21X-63-86180

TUBE

23

707-88-94071

PLATE

24

01010-51020

BOLT

25

01643-31032

WASHER

26

01010-51030

BOLT

27

01643-31032

WASHER

Выбрано товаров: 29