Качественные детали и логистика
Оригинальные и аналоговые запчасти с доставкой по России, Казахстану и Беларуси
©2022 PartSell ООО "Система" ИНН 2463123282 ОГРН 1212400004838
Центральный офис: г. Красноярск, Академика Киренского, д.87, пом.4
Телефон: 8 (800) 777-65-74 Email: zakaz@partsell.ru
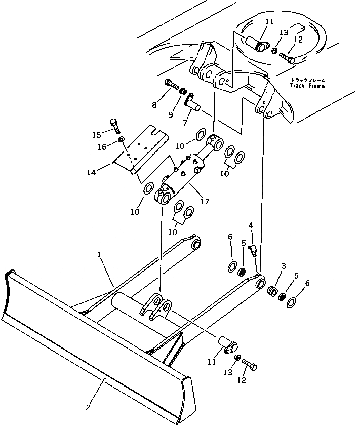
ОТВАЛ
№
Артикул
Название
Примечание
Количество
|1
21X-71-00040
BLADE ASS'Y
1
2
20T-71-41120
EDGE,CUTTING (WELDED)
3
07144-10304
BUSHING
4
07020-00675
FITTING,GREASE
5
07145-00035
SEAL,DUST
G-1
20T-71-X1200
BLADE PIN GROUP
6
20R-70-11270
SPACER¤ 1.0MM
7
20S-71-31221
PIN
8
01010-51225
BOLT
9
20S-70-31180
SPACER
G-2
20T-71-X1300
CYLINDER PIN GROUP,BLADE
10
20S-71-11230
SHIM¤ 1.0MM
|10
20S-71-11240
SPACER¤ 2.3MM
11
20T-71-41211
12
13
20S-70-31190
G-3
21X-71-X1401
CYLINDER COVER GROUP,BLADE
21X-71-X1400
14
21X-71-11121
COVER
|14
21X-71-11120
15
01010-51016
16
01643-31032
WASHER
17
21X-63-02050
CYLINDER ASS'Y,BLADE (SEE FIG.7551)
Выбрано товаров: 0