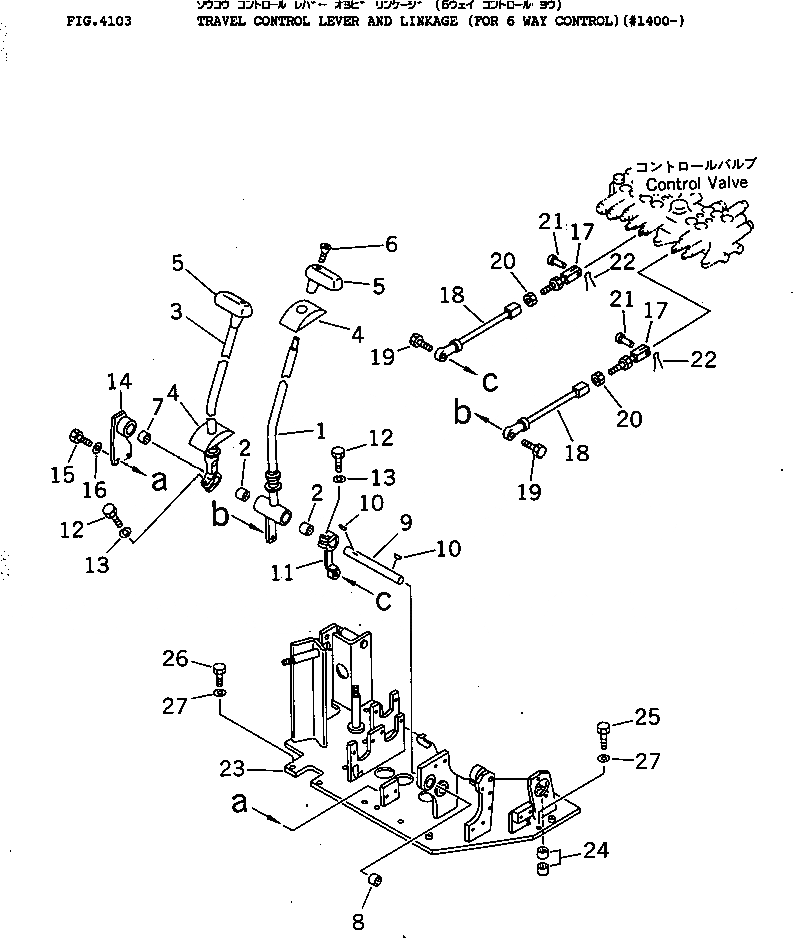
Запчасти Komatsu PC38UU-1 РЫЧАГ УПРАВЛ-Я ХОДОМ (ДЛЯ WAY УПРАВЛ-Е)(№-) СИСТЕМА УПРАВЛЕНИЯ И ОСНОВНАЯ РАМА

Схема запчастей Komatsu PC38UU-1 - РЫЧАГ УПРАВЛ-Я ХОДОМ (ДЛЯ WAY УПРАВЛ-Е)(№-) СИСТЕМА УПРАВЛЕНИЯ И ОСНОВНАЯ РАМА
FIT
1:1
100%

Артикул

Название

Примечание

Количество

1

20U-43-14650

LEVER,L.H.

2

195-61-34130

BEARING

3

20U-43-14640

LEVER,R.H.

4

20S-43-11230

COVER

5

203-43-41340

KNOB

6

01225-40625

SCREW

7

195-61-34130

BEARING

8

195-61-34130

BEARING

9

20U-43-14610

SHAFT

10

04010-00519

KEY

11

20U-43-15210

LEVER

12

01010-50830

BOLT

13

01602-20825

WASHER,SPRING

14

20U-43-14620

BRACKET

15

01010-51025

BOLT

16

01643-31032

WASHER

17

20T-43-31340

YOKE

18

20U-43-14790

ROD,L.H. THREAD

19

01010-51030

BOLT

20

01508-41006

NUT,L.H. THREAD

21

20T-43-48620

PIN

22

04050-11210

PIN,COTTER

23

20U-43-15111

BRACKET

24

195-61-34130

BEARING

25

01010-51230

BOLT

26

01010-51235

BOLT

27

01643-31232

WASHER

Выбрано товаров: 0