/ / / / / / ПЕДАЛЬ СКОРОСТИ И МЕХАНИЗМ (ДЛЯ WAY УПРАВЛ-Е)(№-)
Запчасти Komatsu PC38UU-1 ПЕДАЛЬ СКОРОСТИ И МЕХАНИЗМ (ДЛЯ WAY УПРАВЛ-Е)(№-) СИСТЕМА УПРАВЛЕНИЯ И ОСНОВНАЯ РАМА
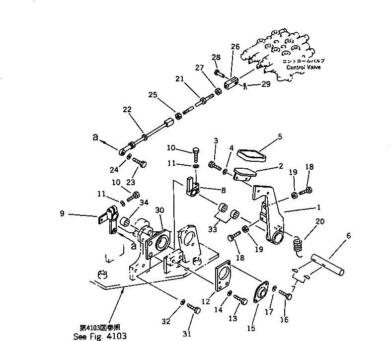
1
20U-43-11312
LEVER
2
201-43-38150
PEDAL
3
01010-50816
BOLT
4
01602-20825
WASHER,SPRING
5
20D-43-14370
CAP,PEDAL
6
20U-43-13380
SHAFT
7
04010-00519
KEY
8
20U-43-13390
LEVER
9
20U-43-13410
LEVER
10
01010-50830
BOLT
11
01602-20825
WASHER,SPRING
12
20U-43-13421
PLATE
13
01010-51025
BOLT
14
01643-31032
WASHER
15
20T-43-31310
BEARING
16
01010-50816
BOLT
17
01602-20825
WASHER,SPRING
18
01016-51040
BOLT
19
01580-11008
NUT
20
111-33-32131
SPRING
21
04248-31022
ROD
22
20U-43-15330
ROD
23
01010-51030
BOLT
24
01643-31032
WASHER
25
01508-41006
NUT,L.H. THREAD
26
20S-43-21570
YOKE
27
01582-11008
NUT
28
20T-43-48620
PIN
29
04050-11210
PIN,COTTER
30
20U-43-15390
PLATE
31
01010-51020
BOLT
32
01643-31032
WASHER
33
195-43-43190
BEARING
34
195-61-34130
BEARING
Выбрано товаров: 0