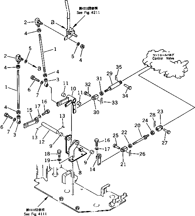
Запчасти Komatsu PC38UU-1 СТРЕЛА И КОВШ РЫЧАГ УПРАВЛ-Я (УВЕЛИЧ. SPEED ДЛЯ СТРЕЛЫ RISE) СИСТЕМА УПРАВЛЕНИЯ И ОСНОВНАЯ РАМА

Схема запчастей Komatsu PC38UU-1 - СТРЕЛА И КОВШ РЫЧАГ УПРАВЛ-Я (УВЕЛИЧ. SPEED ДЛЯ СТРЕЛЫ RISE) СИСТЕМА УПРАВЛЕНИЯ И ОСНОВНАЯ РАМА
FIT
1:1
100%

Артикул

Название

Примечание

Количество

G-1

21X-43-X0021

STAND GROUP,R.H.

G-1

21X-43-X0020

STAND GROUP,R.H.

1

04245-41033

ROD

2

207-43-11170

JOINT

3

04250-41056

END,ROD

4

01582-11008

NUT

5

01643-31032

WASHER

6

01010-51035

BOLT

7

01643-31032

WASHER

G-2

21X-43-X0030

CONTROL GROUP,BOOM AND BUCKET

8

20U-43-11271

BRACKET

9

195-61-34130

BEARING

10

21X-43-11210

LEVER

11

195-61-34130

BEARING

12

20U-43-11220

SHAFT

13

04010-00519

KEY

14

20T-43-31180

LEVER

15

20T-43-31141

LEVER

16

01010-50830

BOLT

17

01602-20825

WASHER,SPRING

18

01010-51025

BOLT

19

01643-31032

WASHER

G-3

21X-43-X0060

ROD GROUP,BOOM AND BUCKET

20

04248-31012

ROD

21

20S-43-12150

YOKE,L.H. THREAD

22

01508-41006

NUT,L.H. THREAD

23

20S-43-21570

YOKE

24

01582-11008

NUT

25

04205-10822

PIN

26

04050-12012

PIN,COTTER

27

04205-10520

PIN

28

04050-11210

PIN,COTTER

29

21X-43-11191

SPRING ASS'Y,(INCREASE SPEED FOR BOOM RISE)

30

20T-43-22210

YOKE,(INCREASE SPEED FOR BOOM RISE)

31

01582-11008

NUT,(INCREASE SPEED FOR BOOM RISE)

32

04205-10822

PIN,(INCREASE SPEED FOR BOOM RISE)

33

04050-12012

PIN,(INCREASE SPEED FOR BOOM RISE)

34

04205-10520

PIN,(INCREASE SPEED FOR BOOM RISE)

35

04050-11210

PIN,(INCREASE SPEED FOR BOOM RISE)

Выбрано товаров: 39