Запчасти Komatsu PC38UU-1 КАБИНА (/7) (КАБИНА) ЧАСТИ КОРПУСА

Схема запчастей Komatsu PC38UU-1 - КАБИНА (/7) (КАБИНА) ЧАСТИ КОРПУСА
FIT
1:1
100%

Артикул

Название

Примечание

Количество

|1

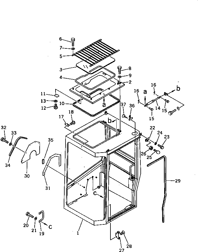
21X-54-00011

OPERATOR'S CAB ASS'Y

|1

21X-54-00010

OPERATOR'S CAB ASS'Y

1

CAB

|1

CAB

2

21W-54-14512

COVER

|2

21W-54-14511

COVER

3

21W-54-14580

PLATE

4

21W-54-14590

STRIP

5

20U-54-12252

GUARD

|5

20U-54-12251

GUARD

6

01010-50616

BOLT

7

01643-30623

WASHER

8

01010-50816

BOLT

9

01643-30823

WASHER

10

09412-10024

SEAL

11

203-54-11310

HOOK

12

01220-40412

SCREW

13

01641-20405

WASHER

14

205-54-63650

GAS SPRING ASS'Y

15

04205-10825

PIN

16

04050-12012

PIN,COTTER

17

203-54-11290

CATCHER

18

01225-40412

SCREW

19

21W-54-14941

HANDRAIL

|19

21W-54-14940

HANDRAIL

20

01010-51020

BOLT

21

01643-31032

WASHER

22

21X-54-14251

BRACKET

|22

21X-54-14250

BRACKET

23

01010-51220

BOLT

24

01643-31232

WASHER

25

21W-54-14890

STOPPER

26

01580-11210

NUT

27

205-54-71731

STRIKER

28

203-54-43590

SCREW

29

21W-54-14230

TRIM,3800MM

30

21X-54-14121

COVER

|30

21X-54-14120

COVER

31

21W-54-14950

PACKING

32

01010-51016

BOLT

33

01643-31032

WASHER

34

09412-00004

SEAL

35

09412-00001

SEAL

36

205-54-51250

HANGER

37

01381-10416

SCREW

Выбрано товаров: 45