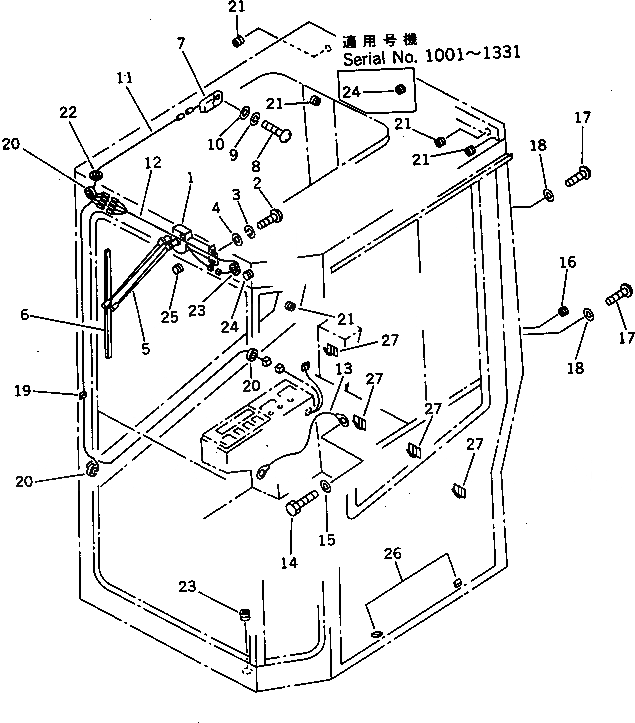
Запчасти Komatsu PC38UU-1 КАБИНА (7/7) (ЭЛЕКТР.) ЧАСТИ КОРПУСА

Схема запчастей Komatsu PC38UU-1 - КАБИНА (7/7) (ЭЛЕКТР.) ЧАСТИ КОРПУСА
FIT
1:1
100%

Артикул

Название

Примечание

Количество

|1

21X-54-00011

OPERATOR'S CAB ASS'Y

|1

21X-54-00010

OPERATOR'S CAB ASS'Y

1

20S-06-21290

MOTOR,WIPER

2

01220-40516

SCREW

3

01601-20513

WASHER,SPRING

4

01641-20508

WASHER

5

20S-06-13420

ARM,WIPER

6

20S-06-13430

BLADE,WIPER

7

08141-01200

LAMP,ROOM

|7

08116-01210

BULB¤ 10W

8

01220-40416

SCREW

9

01601-20410

WASHER,SPRING

10

01641-20405

WASHER

11

21W-06-11510

WIRE ASS'Y

12

21W-06-11520

WIRE ASS'Y

13

21W-06-11540

WIRE

14

01010-50616

BOLT

15

01643-30623

WASHER

16

09415-01008

CAP

17

01220-40410

SCREW

18

01641-20405

WASHER

19

21W-54-14690

CLIP

20

08037-01610

GROMMET

21

09415-01610

CAP

22

08037-01008

GROMMET

23

08037-02512

GROMMET

24

09415-02520

CAP

|24

09415-02520

CAP

25

09415-00506

CAP

26

20U-54-13530

SHEET

27

08051-00801

CLIP

Выбрано товаров: 31