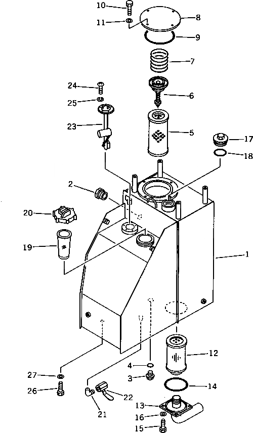
Запчасти Komatsu PC38UU-1 ГИДРАВЛ И ТОПЛИВН. БАК. УПРАВЛ-Е РАБОЧИМ ОБОРУДОВАНИЕМ

Схема запчастей Komatsu PC38UU-1 - ГИДРАВЛ И ТОПЛИВН. БАК. УПРАВЛ-Е РАБОЧИМ ОБОРУДОВАНИЕМ
FIT
1:1
100%

Артикул

Название

Примечание

Количество

1

21X-60-12112

TANK

|1

21X-60-12111

TANK

2

20N-60-11141

GAUGE,OIL

|2

20N-60-11180

GASKET

3

07044-12412

PLUG

4

07002-02434

O-RING

5

07063-01054

ELEMENT

6

125-62-21150

VALVE ASS'Y

7

125-62-21170

SPRING

8

20S-60-21140

COVER

9

07000-02140

O-RING

10

01010-51025

BOLT

11

01643-31032

WASHER

12

21E-60-11130

STRAINER

13

20T-60-31120

TUBE

14

07000-02110

O-RING

15

01010-51020

BOLT

16

01643-31032

WASHER

17

20S-60-31140

PLUG

18

07002-05234

O-RING

19

07056-16415

STRAINER

20

07050-20900

CAP

|20

07050-20902

GASKET

21

07323-30200

ELBOW

22

07700-40240

VALVE

23

20T-06-31110

FLOAT

24

01220-40410

SCREW

25

01601-20410

WASHER,SPRING

26

01010-51230

BOLT

27

01643-31232

WASHER

Выбрано товаров: 30