Запчасти Komatsu PC38UU-1 МОТОР ХОДА (/)(№-) УПРАВЛ-Е РАБОЧИМ ОБОРУДОВАНИЕМ

Схема запчастей Komatsu PC38UU-1 - МОТОР ХОДА (/)(№-) УПРАВЛ-Е РАБОЧИМ ОБОРУДОВАНИЕМ
FIT
1:1
100%

Артикул

Название

Примечание

Количество

|1

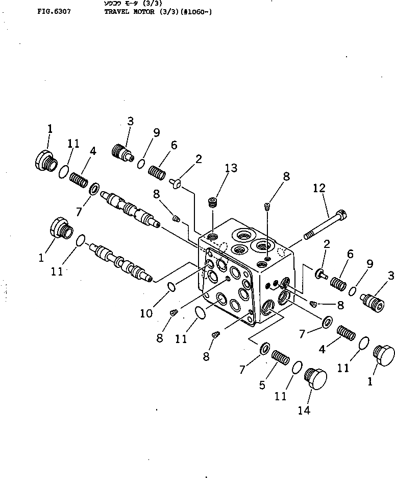
20T-60-43100

TRAVEL MOTOR ASS'Y

1

FUFZS-5484-03

PLUG

2

FUFZS-9522-04

VALVE,CHECK

3

FUFZS-5484-07

PLUG

4

FUFZS-5617-02

SPRING

5

FUFZS-9522-201

SPRING

6

FUFZS-5484-06

SPRING

7

FUFZS-5484-30

RING

8

FUTPU-1-16

PLUG

9

FUP11-90

O-RING

10

FUP12-90

O-RING

11

FUP18-90

O-RING

12

FUTH12-8-80

SCREW

13

FUTPHA-1-4

PLUG

14

FUFZS-9522-202

PLUG

Выбрано товаров: 15