Запчасти Komatsu PC38UU-1 ГИДРОЛИНИЯ (ВОЗВРАТ.) УПРАВЛ-Е РАБОЧИМ ОБОРУДОВАНИЕМ

Схема запчастей Komatsu PC38UU-1 - ГИДРОЛИНИЯ (ВОЗВРАТ.) УПРАВЛ-Е РАБОЧИМ ОБОРУДОВАНИЕМ
FIT
1:1
100%

Артикул

Название

Примечание

Количество

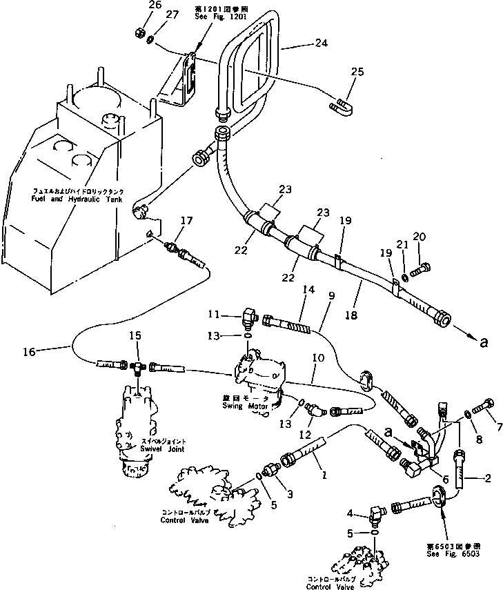
1

21X-62-11250

HOSE

2

21X-62-11281

HOSE

|2

21X-62-11280

HOSE

3

20S-62-31340

UNION

4

22X-61-13840

ELBOW

5

07002-02034

O-RING

6

21X-62-11261

TUBE

7

01010-51025

BOLT

8

01643-31032

WASHER

9

21X-62-11291

HOSE

10

07102-20206

HOSE

11

201-62-21650

ELBOW

12

20N-63-66190

ELBOW

13

07002-02034

O-RING

14

21W-62-12540

COVER

15

20D-62-42780

TEE

16

07102-20204

HOSE

17

07238-10210

CONNECTOR

18

21X-62-11312

HOSE

19

411-03-11510

CLIP

20

01010-51016

BOLT

21

01643-31032

WASHER

22

203-62-41150

COVER

23

08034-00519

BAND

24

20S-62-31322

TUBE

25

07283-23442

CLIP

26

01599-01011

NUT

27

01643-31032

WASHER

Выбрано товаров: 28