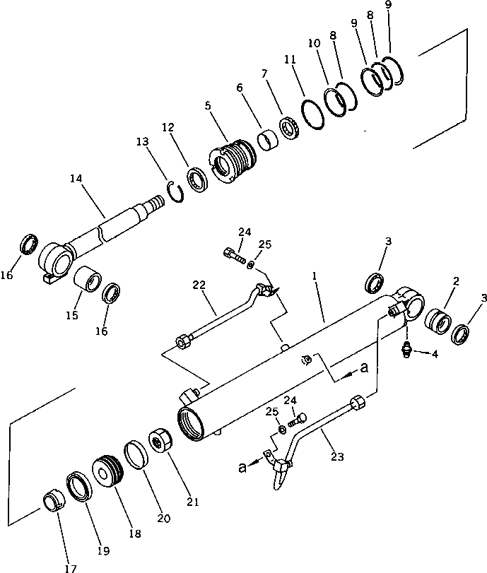
Запчасти Komatsu PC38UU-1 ЦИЛИНДР СТРЕЛЫ РАБОЧЕЕ ОБОРУДОВАНИЕ

Схема запчастей Komatsu PC38UU-1 - ЦИЛИНДР СТРЕЛЫ РАБОЧЕЕ ОБОРУДОВАНИЕ
FIT
1:1
100%

Артикул

Название

Примечание

Количество

G-1

21X-63-X2010

BOOM CYLINDER GROUP

|$2

21X-63-02010

CYLINDER ASS'Y,BOOM

1

21X-63-56140

CYLINDER

2

07144-10505

BUSHING

3

07145-00050

SEAL,DUST

4

07020-00000

FITTING,GREASE

5

707-29-90281

HEAD,CYLINDER

6

07177-05030

BUSHING

7

707-51-50211

PACKING,ROD

8

07000-12085

O-RING

9

07146-02086

RING,BACK-UP

10

707-35-52690

RING,BACK-UP

11

07000-02090

O-RING

12

176-63-92240

SEAL,DUST

13

07179-12062

RING,SNAP

14

21X-63-56120

ROD

15

07143-10505

BUSHING

16

07145-00050

SEAL,DUST

17

707-71-50150

PLUNGER

18

707-36-90360

PISTON

19

707-44-90180

RING,PISTON

20

07156-00912

RING,WEAR

21

07165-13336

NUT

22

21X-63-56170

TUBE

23

21X-63-56180

TUBE

24

01010-51020

BOLT

25

01643-31032

WASHER

Выбрано товаров: 27