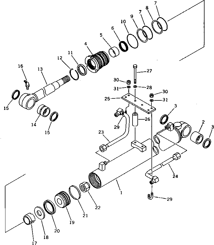
Запчасти Komatsu PC38UU-1 ЦИЛИНДР РУКОЯТИ РАБОЧЕЕ ОБОРУДОВАНИЕ

Схема запчастей Komatsu PC38UU-1 - ЦИЛИНДР РУКОЯТИ РАБОЧЕЕ ОБОРУДОВАНИЕ
FIT
1:1
100%

Артикул

Название

Примечание

Количество

G-1

21X-63-X2020

ARM CYLINDER GROUP

|$2

21X-63-02020

CYLINDER ASS'Y,ARM

1

21X-63-66140

CYLINDER

2

07143-10404

BUSHING

3

07145-00040

SEAL,DUST

4

707-29-75640

HEAD,CYLINDER

5

07177-04530

BUSHING

6

707-51-45210

PACKING,ROD

7

07000-12070

O-RING

8

707-35-52760

RING,BACK-UP

9

707-35-52740

RING,BACK-UP

10

07000-02075

O-RING

11

112-63-15370

SEAL,DUST

12

07179-12057

RING,SNAP

13

21X-63-66120

ROD

14

07144-10404

BUSHING

15

07145-00040

SEAL,DUST

16

07020-00675

FITTING,GREASE

17

707-71-50500

PLUNGER

18

707-40-75370

RETAINER

19

707-36-75370

PISTON

20

707-44-75180

RING,PISTON

21

707-39-75190

RING,WEAR

22

07165-13033

NUT

23

21X-63-66170

TUBE

24

21X-63-66180

TUBE

25

707-88-94080

PLATE

26

707-88-12360

COLLAR

27

01010-51095

BOLT

28

01643-31032

WASHER

29

07283-21529

CLIP

30

01598-00809

NUT

31

01643-30823

WASHER

Выбрано товаров: 0