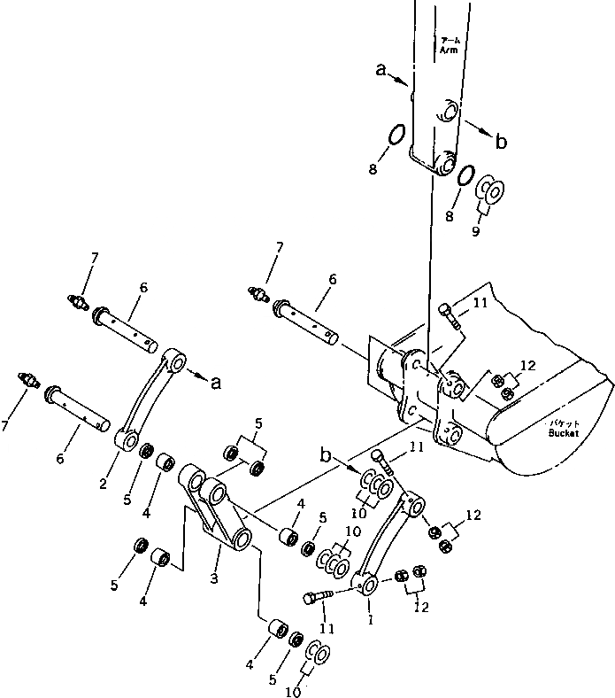
Запчасти Komatsu PC38UU-1 СОЕДИНЕНИЕ КОВША РАБОЧЕЕ ОБОРУДОВАНИЕ

Схема запчастей Komatsu PC38UU-1 - СОЕДИНЕНИЕ КОВША РАБОЧЕЕ ОБОРУДОВАНИЕ
FIT
1:1
100%

Артикул

Название

Примечание

Количество

1

21X-70-14110

LINK,L.H.

2

21X-70-14120

LINK,R.H.

G-1

21X-70-X3100

LINK SUB GROUP,SUB

|$4

20S-70-00040

LINK ASS'Y

3

LINK

4

20S-70-11270

BUSHING

5

07145-00035

SEAL,DUST

G-2

21X-70-X3200

LINK PIN GROUP

6

21X-70-14131

PIN

7

07020-00000

FITTING,GREASE

8

140-30-16220

O-RING

9

21X-70-14140

SPACER, 1.0MM

10

20R-70-11270

SPACER, 1.0MM

11

01018-11290

BOLT

12

01580-11210

NUT

Выбрано товаров: 15