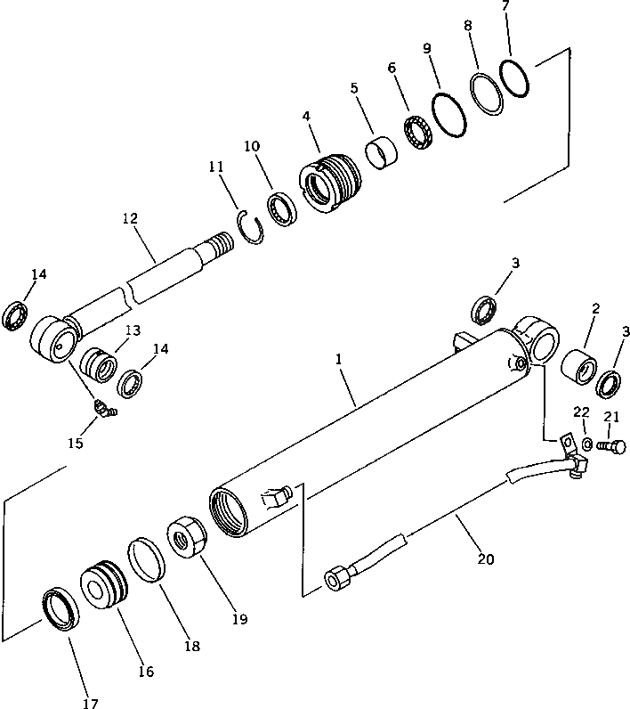
Запчасти Komatsu PC38UU-1 ЦИЛИНДР КОВША РАБОЧЕЕ ОБОРУДОВАНИЕ

Схема запчастей Komatsu PC38UU-1 - ЦИЛИНДР КОВША РАБОЧЕЕ ОБОРУДОВАНИЕ
FIT
1:1
100%

Артикул

Название

Примечание

Количество

G-1

21X-63-X2030

BUCKET CYLINDER G.

|$2

21X-63-02030

CYLINDER ASS'Y,BUCKET

1

21X-63-76140

CYLINDER

2

07143-10304

BUSHING

3

07145-00035

SEAL,DUST

4

707-29-70830

HEAD,CYLINDER

5

07177-04025

BUSHING

6

707-51-40210

PACKING,ROD

7

07000-12065

O-RING

8

07146-02066

RING,BACK-UP

9

07000-02070

O-RING

10

198-63-75190

SEAL,DUST

11

07179-12052

RING,SNAP

12

21X-63-76120

ROD

13

07144-10304

BUSHING

14

07145-00035

SEAL,DUST

15

07020-00675

FITTING,GREASE

16

707-36-70270

PISTON

17

707-44-70180

RING,PISTON

18

07156-00710

RING,WEAR

19

07165-13033

NUT

20

21X-63-76170

TUBE

21

01010-51020

BOLT

22

01643-31032

WASHER

Выбрано товаров: 24