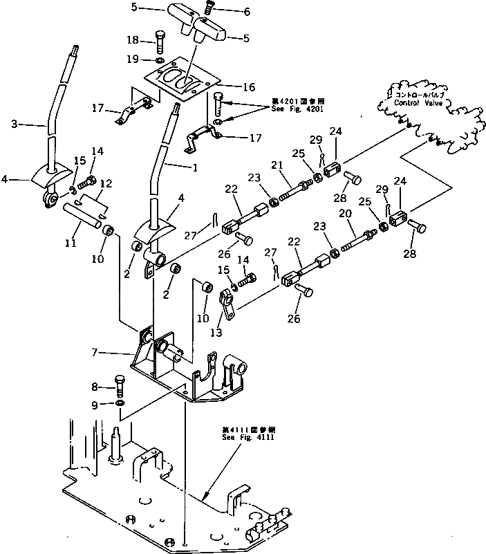
Запчасти Komatsu PC38UU-1 РЫЧАГ УПРАВЛ-Я ХОДОМ СИСТЕМА УПРАВЛЕНИЯ И ОСНОВНАЯ РАМА

Схема запчастей Komatsu PC38UU-1 - РЫЧАГ УПРАВЛ-Я ХОДОМ СИСТЕМА УПРАВЛЕНИЯ И ОСНОВНАЯ РАМА
FIT
1:1
100%

Артикул

Название

Примечание

Количество

G-1

21X-43-X0040

TRAVEL CONTROL G.

1

21X-43-11130

LEVER,L.H.

2

195-61-34130

BEARING

3

20S-43-21120

LEVER,R.H.

4

20S-43-11230

COVER

5

203-43-41340

KNOB

6

203-43-56490

SCREW

7

21X-43-11180

BRACKET

8

01010-51025

BOLT

9

01643-31032

WASHER

10

195-61-34130

BEARING

11

21X-43-11120

SHAFT

12

04010-00519

KEY

13

20S-43-21141

LEVER

14

01010-50830

BOLT

15

01602-20825

WASHER,SPRING

16

20U-54-13140

COVER

17

20U-54-13150

BRACKET

18

01010-51020

BOLT

19

01643-31032

WASHER

G-2

21X-43-X0060

ROD GROUP,TRAVEL

20

04248-31014

ROD

21

04248-31013

ROD

22

20U-43-11640

ROD,L.H. THREAD

23

01508-41006

NUT,L.H. THREAD

24

20S-43-21570

YOKE

25

01582-11008

NUT

26

04205-10822

PIN

27

04050-12012

PIN,COTTER

28

04205-10520

PIN

29

04050-11210

PIN,COTTER

Выбрано товаров: 31