Запчасти Komatsu PC38UU-1 ПЕДАЛЬ СКОРОСТИ И МЕХАНИЗМ СИСТЕМА УПРАВЛЕНИЯ И ОСНОВНАЯ РАМА

Схема запчастей Komatsu PC38UU-1 - ПЕДАЛЬ СКОРОСТИ И МЕХАНИЗМ СИСТЕМА УПРАВЛЕНИЯ И ОСНОВНАЯ РАМА
FIT
1:1
100%

Артикул

Название

Примечание

Количество

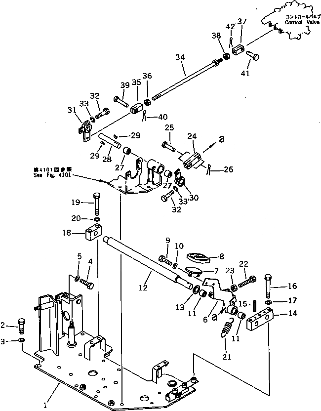
G-1

21X-43-X0080

BASE CONTROL GROUP

1

21X-43-11110

BRACKET

2

01010-51230

BOLT

3

01643-31232

WASHER

4

01010-51030

BOLT

5

01643-31032

WASHER

G-2

21X-43-X0070

TRAVEL SPEED GROUP

6

21X-43-11140

PEDAL

7

201-43-38150

PEDAL

8

20D-43-14370

CAP,PEDAL

9

21X-43-11460

BOLT

10

21X-43-11470

WASHER,SPRING

11

195-61-34130

BEARING

12

21X-43-11380

SHAFT

13

01643-32060

WASHER

14

21X-43-11290

BLOCK

15

04025-00540

PIN,SPRING

16

01010-51055

BOLT

17

01643-31032

WASHER

18

203-43-41310

BLOCK

19

01010-51060

BOLT

20

01643-31032

WASHER

21

111-33-32131

SPRING

22

01016-51040

BOLT

23

01580-11008

NUT

24

21X-43-11240

YOKE

25

04205-10822

PIN

26

04050-12015

PIN,COTTER

27

195-61-34130

BEARING

28

21X-43-11250

SHAFT

29

04010-00519

KEY

30

20U-43-11570

LEVER

31

21X-43-11260

LEVER

32

01010-50830

BOLT

33

01602-20825

WASHER,SPRING

G-3

21X-43-X0060

ROD GROUP,TRAVEL

34

04248-31042

ROD

35

20S-43-12150

YOKE,L.H. THREAD

36

01508-41006

NUT,L.H. THREAD

37

20S-43-21570

YOKE

38

01582-11008

NUT

39

04205-10822

PIN

40

04050-12012

PIN,COTTER

41

04205-10520

PIN

42

04050-11210

PIN,COTTER

Выбрано товаров: 45