Запчасти Komatsu PC38UU-1 СТРЕЛА И КОВШ РЫЧАГ УПРАВЛ-Я СИСТЕМА УПРАВЛЕНИЯ И ОСНОВНАЯ РАМА

Схема запчастей Komatsu PC38UU-1 - СТРЕЛА И КОВШ РЫЧАГ УПРАВЛ-Я СИСТЕМА УПРАВЛЕНИЯ И ОСНОВНАЯ РАМА
FIT
1:1
100%

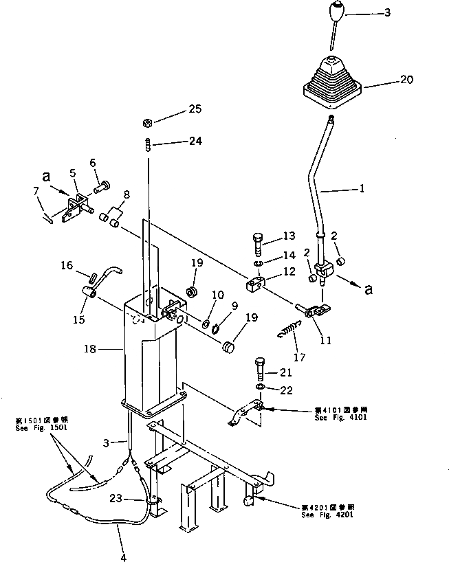
Артикул

Название

Примечание

Количество

G-1

21X-43-X0021

STAND GROUP

G-1

21X-43-X0020

STAND GROUP,R.H.

1

21X-43-11411

LEVER

1

21X-43-11410

LEVER

2

203-43-31420

BUSHING

3

203-06-42131

SWITCH,HORN

4

20U-06-11230

WIRE

5

21X-43-11420

YOKE

6

04205-11450

PIN

7

04050-14022

PIN,COTTER

8

203-43-31420

BUSHING

9

04064-01410

RING,SNAP

10

01641-21423

WASHER

11

20S-43-21380

LEVER

12

20S-43-21390

BLOCK

13

01010-50840

BOLT

14

01602-20825

WASHER,SPRING

15

205-43-63820

LEVER,LOCK

16

04025-00520

PIN,SPRING

17

203-43-21370

SPRING

18

21W-43-11461

STAND,R.H.

18

21W-43-11460

STAND,R.H.

19

09415-02512

CAP

20

20X-43-21730

BOOT

21

01010-51225

BOLT

22

01643-31232

WASHER

23

08034-00519

BAND

24

01310-20825

SCREW,(INCREASE SPEED FOR BOOM RISE)

25

01580-10806

NUT,(INCREASE SPEED FOR BOOM RISE)

Выбрано товаров: 29