Запчасти Komatsu PC38UU-1 МЕХ-М УПРАВЛ-Я РАБОЧ. ОБОРУД-EM (УВЕЛИЧ. SPEED ДЛЯ СТРЕЛЫ RISE) СИСТЕМА УПРАВЛЕНИЯ И ОСНОВНАЯ РАМА

Схема запчастей Komatsu PC38UU-1 - МЕХ-М УПРАВЛ-Я РАБОЧ. ОБОРУД-EM (УВЕЛИЧ. SPEED ДЛЯ СТРЕЛЫ RISE) СИСТЕМА УПРАВЛЕНИЯ И ОСНОВНАЯ РАМА
FIT
1:1
100%

Артикул

Название

Примечание

Количество

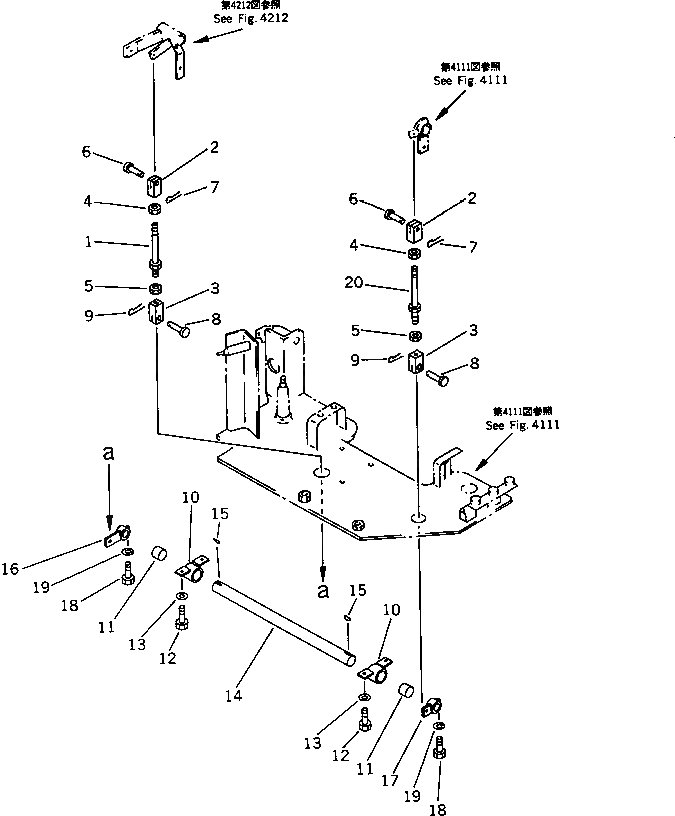
1

04248-31011

ROD

2

20S-43-12150

YOKE

3

203-43-41740

YOKE

4

01508-41006

NUT,L.H. THREAD

5

01582-11008

NUT

6

04205-10822

PIN

7

04050-12015

PIN,COTTER

8

04205-10822

PIN

9

04050-12015

PIN,COTTER

10

21X-43-11330

BRACKET

11

195-61-34130

BEARING

12

01010-51020

BOLT

13

01643-31032

WASHER

14

21X-43-11320

SHAFT

15

04010-00519

KEY

16

21X-43-11310

LEVER

17

21X-43-11340

LEVER

18

01010-50830

BOLT

19

01602-20825

WASHER,SPRING

20

04248-31009

ROD

Выбрано товаров: 20