Запчасти Komatsu PC38UU-1 РАДИАТОР И ТРУБЫ КОМПОНЕНТЫ ДВИГАТЕЛЯ И ЭЛЕКТРИКА

Схема запчастей Komatsu PC38UU-1 - РАДИАТОР И ТРУБЫ КОМПОНЕНТЫ ДВИГАТЕЛЯ И ЭЛЕКТРИКА
FIT
1:1
100%

Артикул

Название

Примечание

Количество

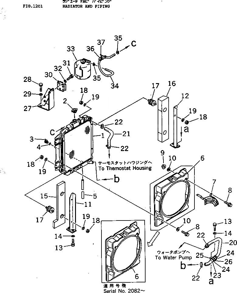
1

20S-03-11212

CORE ASS'Y

2

20S-03-11250

CAP

3

20N-03-11181

PLUG

4

07000-01007

O-RING

5

07270-00821

TUBE

6

20S-03-71120

SHROUD

6

20S-03-21110

SHROUD

7

20S-03-21121

NET

8

01435-20814

BOLT

9

01584-00806

NUT

10

20S-03-11270

COLLAR

11

21X-03-11160

BRACKET,L.H.

12

21X-03-11141

BRACKET,R.H.

13

01010-51025

BOLT

14

01643-31032

WASHER

15

21X-03-11110

SEAT

16

21X-03-11120

SEAT

17

20S-03-11330

CUSHION

18

01580-11008

NUT

19

01602-21030

WASHER,SPRING

20

20S-03-31211

HOSE

21

20S-03-12121

HOSE

22

207-09-11110

CLAMP

23

20S-03-31180

SEAT

24

08034-00519

BAND

25

20S-03-31240

CLIP

26

20T-62-57690

BAND

27

21X-03-11152

BRACKET

28

01010-51025

BOLT

29

01643-31032

WASHER

30

362-03-14120

BRACKET

31

01010-50616

BOLT

32

01602-20619

WASHER,SPRING

33

362-03-14110

TANK

33

362-03-31160

CAP

34

20S-03-21130

HOSE

35

07281-00137

CLAMP

36

201-43-22190

BUSHING

37

08034-00519

BAND

Выбрано товаров: 39