Качественные детали и логистика
Оригинальные и аналоговые запчасти с доставкой по России, Казахстану и Беларуси
©2022 PartSell ООО "Система" ИНН 2463123282 ОГРН 1212400004838
Центральный офис: г. Красноярск, Академика Киренского, д.87, пом.4
Телефон: 8 (800) 777-65-74 Email: zakaz@partsell.ru
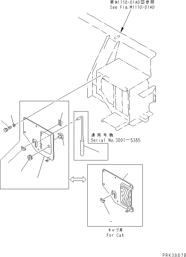
ПОКРЫТИЕ ПОЛА(№-89)
№
Артикул
Название
Примечание
Количество
1
21X-54-23211
COVER
21X-977-2110
COVER,(FOR CAB)
2
20S-54-12310
GROMMET
3
20C-54-11360
HINGE,(NOT USED FOR CAB SPEC.) (WELDED)
4
FF8733-54240
STOPPER,(NOT USED FOR CAB SPEC.) (WELDED)
5
01010-81020
BOLT
6
01643-31032
WASHER
7
08037-02512
GROMMET,(NOT USED FOR CAB SPEC.)
8
21X-54-23310
PIN
Выбрано товаров: 0