Запчасти Komatsu PC38UU-2 НИЖН. КРЫШКА ЧАСТИ КОРПУСА

Схема запчастей Komatsu PC38UU-2 - НИЖН. КРЫШКА ЧАСТИ КОРПУСА
FIT
1:1
100%

Артикул

Название

Примечание

Количество

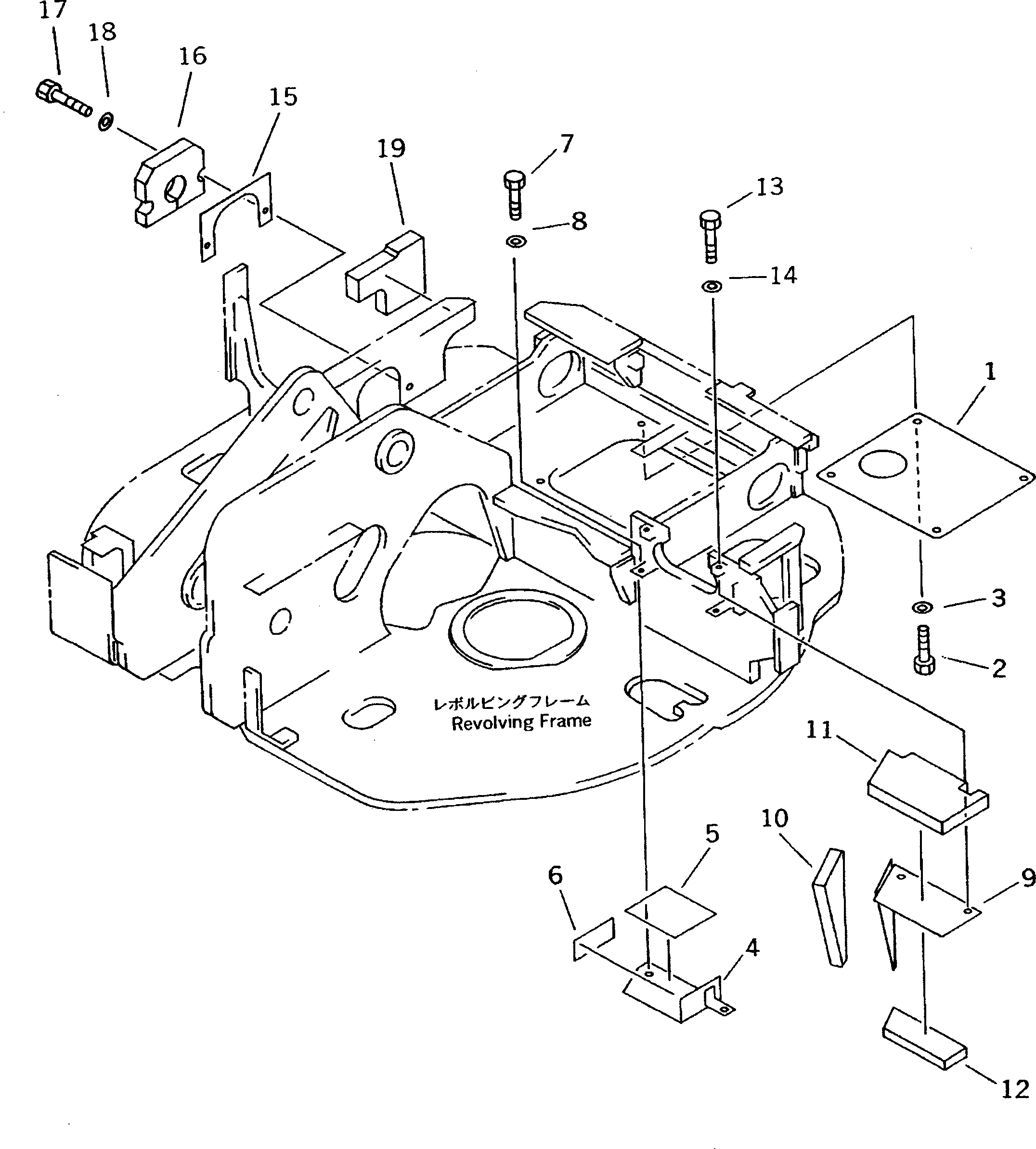
1

21X-54-21841

COVER

|1

21X-54-21840

COVER

2

01010-81020

BOLT

3

01643-31032

WASHER

4

21X-54-21860

COVER

5

21X-54-21870

SEAL

6

21X-54-21890

SEAL

7

01010-81020

BOLT

8

01643-31032

WASHER

|9

21X-54-21741

COVER ASS'Y

9

COVER

10

21X-54-21761

SHEET

11

21X-54-21771

SHEET

12

21X-54-21930

SHEET

13

01010-81020

BOLT

14

01643-31032

WASHER

15

21X-03-21190

COVER ASS'Y

16

21X-03-21241

SHEET

17

01010-80820

BOLT

18

01643-30823

WASHER

19

21X-03-21410

SHEET

Выбрано товаров: 21