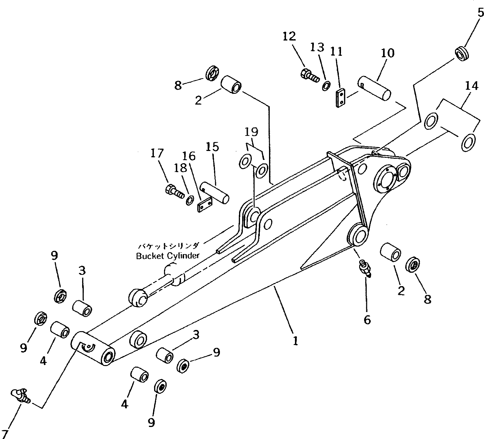
Запчасти Komatsu PC38UU-2 УДЛИНН. РУКОЯТЬ (РУКОЯТЬ И ПАЛЕЦ) РАБОЧЕЕ ОБОРУДОВАНИЕ

Схема запчастей Komatsu PC38UU-2 - УДЛИНН. РУКОЯТЬ (РУКОЯТЬ И ПАЛЕЦ) РАБОЧЕЕ ОБОРУДОВАНИЕ
FIT
1:1
100%

Артикул

Название

Примечание

Количество

|1

21X-943-0021

ARM ASS'Y

|1

21X-943-0020

ARM ASS'Y

1

ARM

|1

ARM

2

20S-70-71140

BUSHING

3

20S-70-11270

BUSHING

4

20S-70-71880

BUSHING

5

21X-70-21280

GROMMET

6

07020-00000

FITTING,GREASE

7

07020-00900

FITTING,GREASE

8

07145-00045

SEAL,DUST

9

07145-00035

SEAL,DUST

10

20S-70-71571

PIN

11

04082-00212

LOCK

12

01010-81230

BOLT

13

01643-31232

WASHER

14

21X-70-22120

SHIM¤ 3.5MM

15

20S-70-71240

PIN

16

04082-00212

LOCK

17

01010-81230

BOLT

18

01643-31232

WASHER

19

20S-70-71490

SHIM¤ 2.5MM

Выбрано товаров: 22