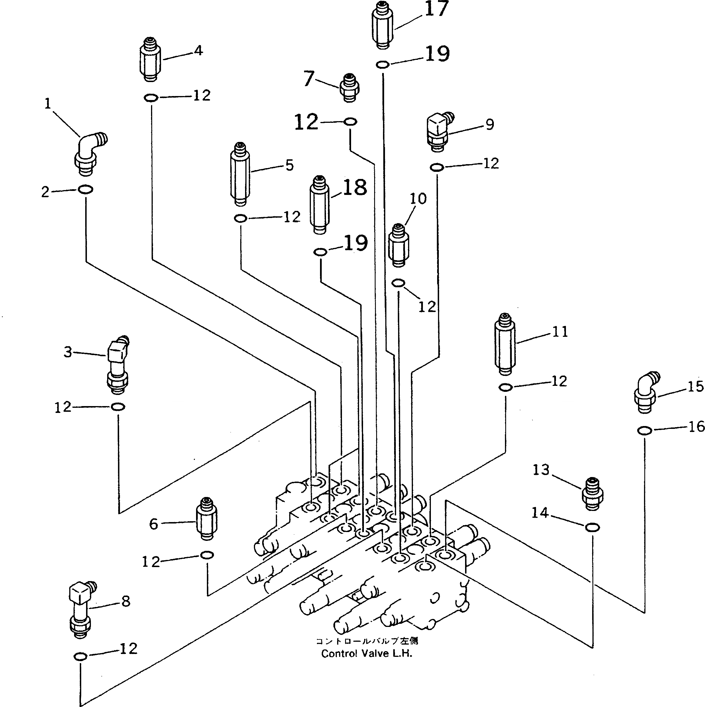
Запчасти Komatsu PC38UU-2 ОСНОВН. КЛАПАН (ПАТРУБОК) (ЛЕВ.) (ДЛЯ НАВЕСН. ОБОРУД.) ГИДРАВЛИКА

Схема запчастей Komatsu PC38UU-2 - ОСНОВН. КЛАПАН (ПАТРУБОК) (ЛЕВ.) (ДЛЯ НАВЕСН. ОБОРУД.) ГИДРАВЛИКА
FIT
1:1
100%

Артикул

Название

Примечание

Количество

1

07235-10422

ELBOW

2

07002-12034

O-RING

3

20T-62-61620

ELBOW

4

21X-62-22380

NIPPLE

5

20T-62-67150

UNION

6

21X-62-22380

NIPPLE

7

20T-62-56710

UNION

8

20T-62-61620

ELBOW

9

21X-62-22390

ELBOW

|9

20T-62-61630

ELBOW

10

20T-62-56710

UNION

11

20T-62-67150

UNION

12

07002-11823

O-RING

13

20T-62-71690

NIPPLE

14

07002-02034

O-RING

15

07235-10422

ELBOW

16

07002-12034

O-RING

17

21X-970-2180

NIPPLE

|17

287-35-11680

NIPPLE

18

21U-973-2290

UNION

19

07002-11823

O-RING

Выбрано товаров: 21