Запчасти Komatsu PC38UU-2 ОСНОВН. КЛАПАН (ПАТРУБОК) (ПРАВ.) ГИДРАВЛИКА

Схема запчастей Komatsu PC38UU-2 - ОСНОВН. КЛАПАН (ПАТРУБОК) (ПРАВ.) ГИДРАВЛИКА
FIT
1:1
100%

Артикул

Название

Примечание

Количество

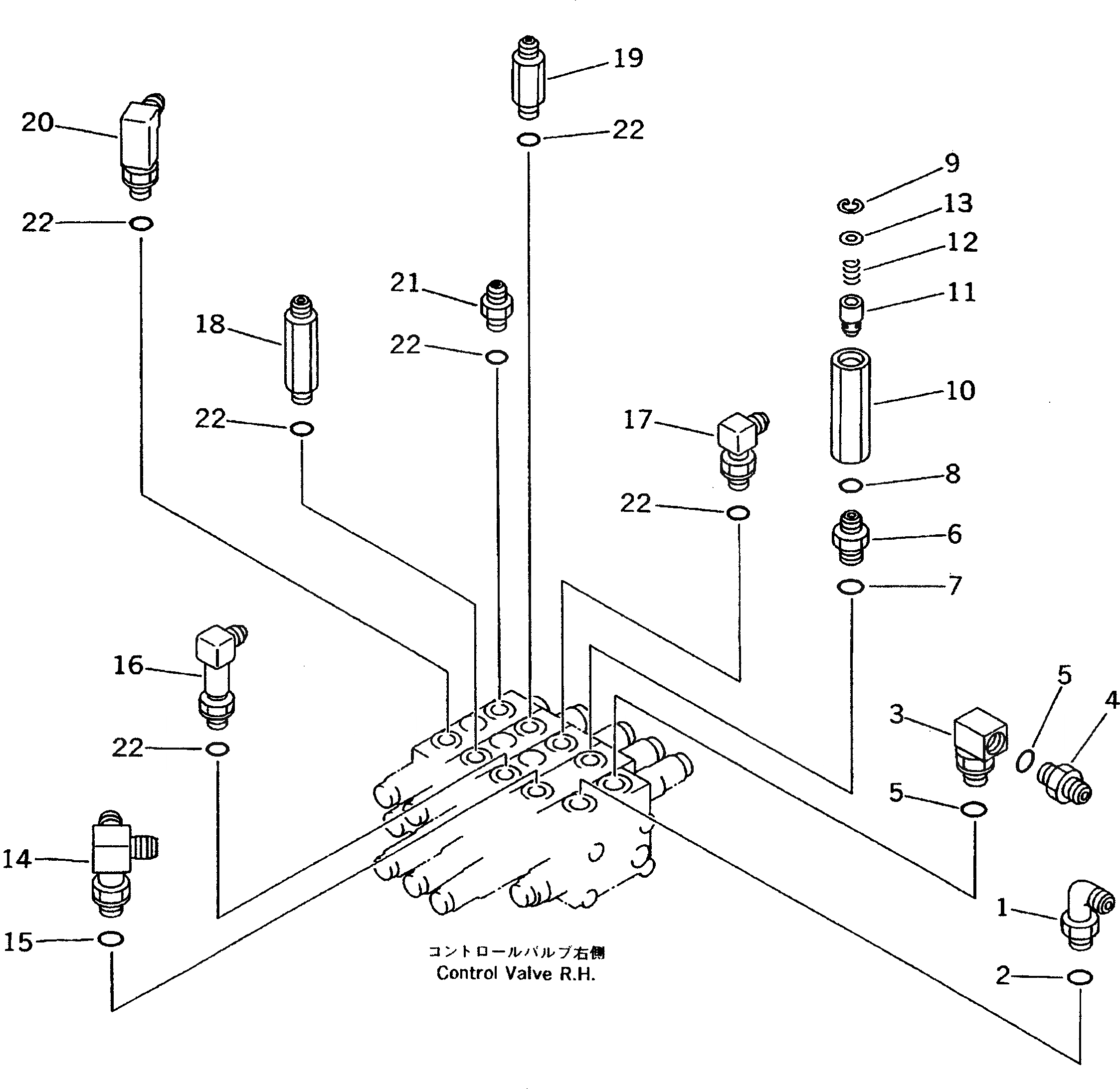
1

07235-10422

ELBOW

2

07002-02034

O-RING

3

21X-62-21140

ELBOW

4

07230-20422

UNION

5

07002-12034

O-RING

6

21X-62-12190

UNION

7

07002-11823

O-RING

8

07002-12034

O-RING

|9

205-60-64300

CHECK VALVE ASS'Y

9

04065-01410

RING

10

205-60-64290

BODY

11

205-60-51390

POPPET

12

205-60-51410

SPRING

13

205-60-51420

SEAT

14

21X-62-21170

TEE

15

07002-12034

O-RING

16

20T-62-61620

ELBOW

17

21X-62-22390

ELBOW

18

21X-62-21131

UNION

19

20M-62-32760

NIPPLE

20

20N-62-42470

ELBOW

21

20N-62-31260

NIPPLE

22

07002-11823

O-RING

Выбрано товаров: 23