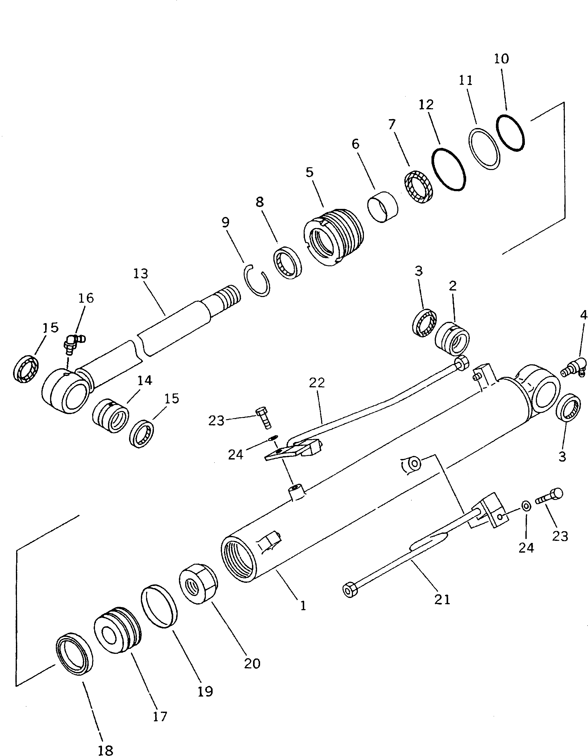
Запчасти Komatsu PC38UU-2 ЦИЛИНДР КОВША ОСНОВН. КОМПОНЕНТЫ И РЕМКОМПЛЕКТЫ

Схема запчастей Komatsu PC38UU-2 - ЦИЛИНДР КОВША ОСНОВН. КОМПОНЕНТЫ И РЕМКОМПЛЕКТЫ
FIT
1:1
100%

Артикул

Название

Примечание

Количество

G-1

21X-63-X2120

BUCKET CYLINDER G.

|1

21X-63-02120

CYLINDER ASS'Y,BUCKET

1

21X-63-76240

CYLINDER

2

07144-10304

BUSHING

3

07145-00035

SEAL,DUST (KIT)

4

07020-00900

FITTING,GREASE

5

707-29-70830

HEAD,CYLINDER

6

07177-04025

BUSHING

7

707-51-40210

PACKING,ROD (KIT)

8

198-63-75190

SEAL,DUST (KIT)

9

07179-12052

RING,SNAP

10

07000-12065

O-RING (KIT)

11

07146-02066

RING,BACK-UP (KIT)

12

07000-02070

O-RING (KIT)

13

20R-63-77121

ROD

14

07144-10304

BUSHING

15

07145-00035

SEAL,DUST (KIT)

16

07020-00675

FITTING,GREASE

17

707-36-70270

PISTON

18

707-44-70180

RING,PISTON (KIT)

19

07156-00710

RING,WEAR (KIT)

20

01580-03024

NUT

21

21X-63-76270

TUBE

22

21X-63-76280

TUBE

23

01010-51020

BOLT

24

01643-31032

WASHER

Выбрано товаров: 26