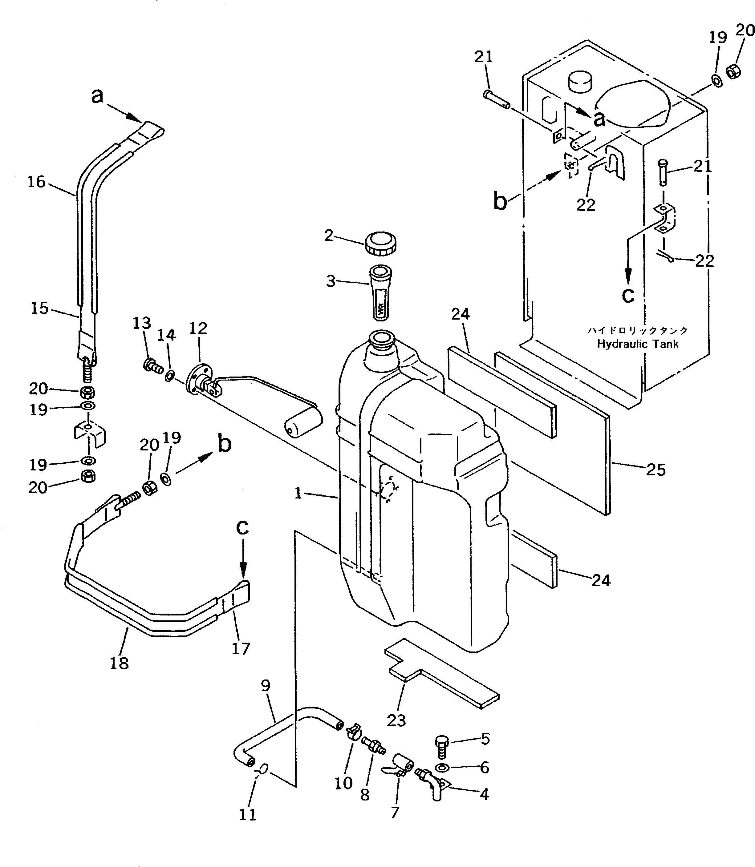
Запчасти Komatsu PC38UUM-2 ТОПЛИВН. БАК. (БАК) ТОПЛИВН. БАК. AND КОМПОНЕНТЫ

Схема запчастей Komatsu PC38UUM-2 - ТОПЛИВН. БАК. (БАК) ТОПЛИВН. БАК. AND КОМПОНЕНТЫ
FIT
1:1
100%

Артикул

Название

Примечание

Количество

1

21U-04-21111

TANK

2

21U-04-21130

CAP ASS'Y

3

07056-10045

STRAINER

4

21X-04-21260

TUBE

5

01010-81020

BOLT

6

01643-31032

WASHER

7

07700-40240

VALVE

8

21U-04-21240

NIPPLE

9

21U-04-21230

HOSE

10

07285-00180

CLIP

11

07281-00259

CLAMP

12

20N-06-71241

FLOAT

13

01220-70510

SCREW

14

01641-20508

WASHER

15

21X-04-21230

BAND

16

21X-04-21250

CUSHION

17

21X-04-21240

BAND

18

21X-04-21250

CUSHION

19

01643-31232

WASHER

20

01580-11210

NUT

21

20U-04-21240

PIN

22

04052-11038

PIN,SNAP

23

21U-04-21180

CUSHION

24

21U-04-21190

CUSHION

25

21X-04-21270

SHEET

Выбрано товаров: 25