Качественные детали и логистика
Оригинальные и аналоговые запчасти с доставкой по России, Казахстану и Беларуси
©2022 PartSell ООО "Система" ИНН 2463123282 ОГРН 1212400004838
Центральный офис: г. Красноярск, Академика Киренского, д.87, пом.4
Телефон: 8 (800) 777-65-74 Email: zakaz@partsell.ru
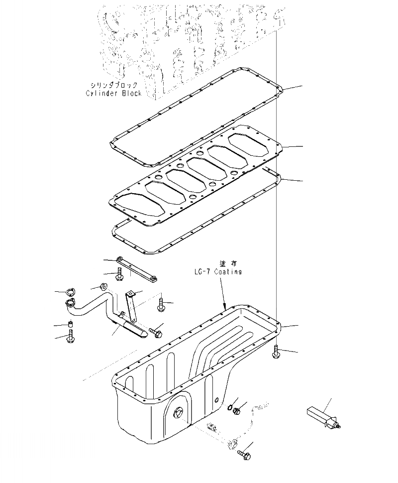
AOP- ПОДДОН ДВИГ-ЛЯ
№
Артикул
Название
Примечание
Количество
1
6745-21-5211
PAN
2
6745-21-5130
GASKET
3
1307 596 H1
4
1304 891 H1
PLATE
5
6732-21-6630
SCREW
6
6736-21-5320
PLUG
7
6732-21-5170
8
01435-60612
BOLT
9
6743-51-5522
CONNECTOR
10
6742-01-2630
11
6742-01-0310
SPACER
12
6743-51-5550
13
6743-51-6121
BRACE
14
6733-71-5840
15
6743-51-6161
16
01435-61025
17
01435-01020
18
6736-81-6170
NUT
19
09920-00150
LIQUID GASKET, LG-7, 150G
Выбрано товаров: 0