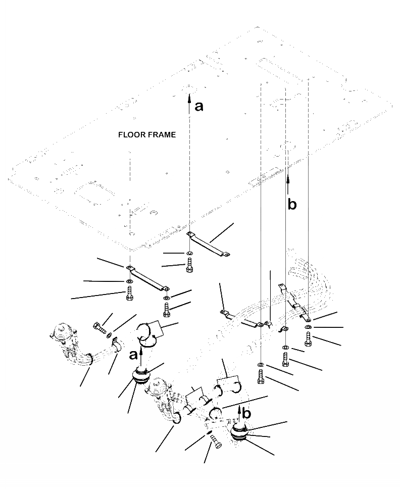
Запчасти Komatsu PC390LL-10 A50601 K-A ГИДРОЛИНИЯ PPC ЛИНИИ КРЕПЛЕНИЕ КРЕПЛЕНИЕS OPERATORS ОБСТАНОВКА И СИСТЕМА УПРАВЛЕНИЯ

Схема запчастей Komatsu PC390LL-10 A50601 - K-A ГИДРОЛИНИЯ PPC ЛИНИИ КРЕПЛЕНИЕ КРЕПЛЕНИЕS OPERATORS ОБСТАНОВКА И СИСТЕМА УПРАВЛЕНИЯ
13
15
13
22
14
19
15
27
14
26
8
9
16
12
18
17
24
6
10
23
21
7
1
12
25
20
11
10
4
5
3
6
4
2
FIT
1:1
100%

Артикул

Название

Примечание

Количество

1

208-06-19170

CLIP

2

01010-81020

BOLT

3

01643-31032

WASHER

4

08034-20536

STRAP, TIE

5

208-43-41111

GROMMET

6

08034-20536

STRAP, TIE

7

281-01-13180

CLIP

8

01010-81020

BOLT

9

01643-31032

WASHER

10

08034-20536

STRAP, TIE

11

2A5-43-11441

GROMMET

12

08034-20536

STRAP, TIE

13

20Y-62-27770

CLAMP

14

01010-81016

BOLT

15

01643-31032

WASHER

16

2A5-62-13811

CLAMP

17

01010-81016

BOLT

18

01643-31032

WASHER

19

2A5-62-13820

CLAMP

20

01010-81016

BOLT

21

01643-31032

WASHER

22

2A5-62-13831

CLAMP

23

01010-81016

BOLT

24

01643-31032

WASHER

25

08034-20536

STRAP, TIE

26

01010-81020

BOLT

27

01643-31032

WASHER

Выбрано товаров: 0