Запчасти Komatsu PC40-1 ЭЛЕКТРИКА КОМПОНЕНТЫ ДВИГАТЕЛЯ И ЭЛЕКТРИКА

Схема запчастей Komatsu PC40-1 - ЭЛЕКТРИКА КОМПОНЕНТЫ ДВИГАТЕЛЯ И ЭЛЕКТРИКА
FIT
1:1
100%

Артикул

Название

Примечание

Количество

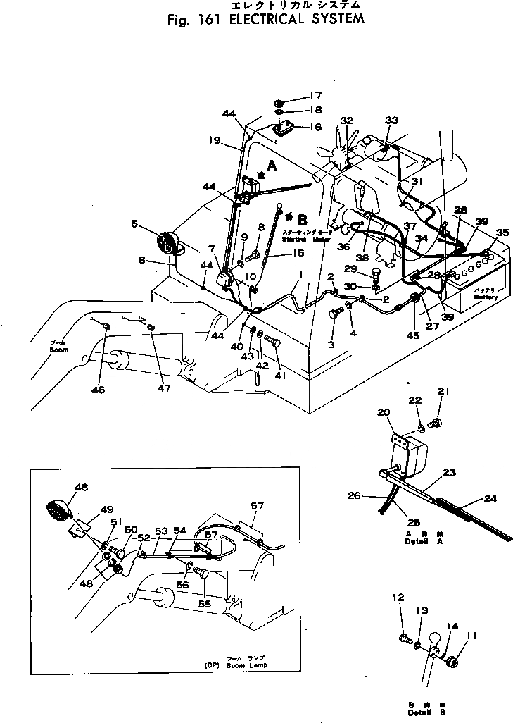
1

20T-06-11112

WIRE ASS'Y

2

08036-01414

CLIP

3

01010-31020

BOLT

4

01602-01030

WASHER,SPRING

5

08125-01200

LAMP ASS'Y,HEAD

6

20T-06-11160

WIRE,HEAD LAMP

7

08160-21200

HORN

8

01010-30816

BOLT

9

01602-00825

WASHER,SPRING

10

20T-06-11150

WIRE,HORN

11

20N-06-11230

SWITCH,HORN

12

01220-30316

SCREW

13

01601-00307

WASHER,SPRING

14

20T-06-11210

WIRE,HORN SWITCH

15

20T-06-11370

WIRE,HORN SWITCH

16

08142-21200

LAMP,ROOM

17

01580-00605

NUT

18

01602-00619

WASHER,SPRING

19

20R-06-11180

WIRE,ROOM LAMP

20

08180-01280

MOTOR ASS'Y,WIPER

21

01010-30612

BOLT

22

01602-00619

WASHER,SPRING

23

08184-20400

ARM,WIPER

24

08185-00400

BLADE,WIPER

25

20R-06-11190

WIRE,WIPER MOTOR

26

20R-06-11210

WIRE,WIPER MOTOR

27

20T-06-11123

WIRE ASS'Y

28

08036-02514

CLIP

29

01010-31016

BOLT

30

01602-01030

WASHER,SPRING

31

08073-00505

SWITCH,OIL PRESSURE

32

198-06-11940

SENSOR,UNIT

33

08038-00525

CAP

34

20T-06-11131

WIRE

34

20T-06-11130

WIRE

35

201-06-21320

CAP

36

08038-04030

CAP

37

140-06-18450

CLIP

38

203-06-21150

CLIP

39

20R-06-11240

WIRE

40

201-06-21280

WIRE

41

01010-31025

BOLT

42

01602-01030

WASHER,SPRING

43

01643-31032

WASHER

44

08037-01008

GROMMET

45

08037-03614

GROMMET

46

07049-01215

PLUG

47

07049-01012

PLUG

48

08125-01200

LAMP ASS'Y,BOOM

49

201-06-21110

BRACKET

50

01010-31225

BOLT

51

01602-01236

WASHER,SPRING

52

20T-06-11170

WIRE

53

08017-11032

CONDUIT,FLEXIBLE

54

08035-01510

CLIP

55

01010-31020

BOLT

56

01602-01030

WASHER,SPRING

57

08034-00834

BAND

Выбрано товаров: 58