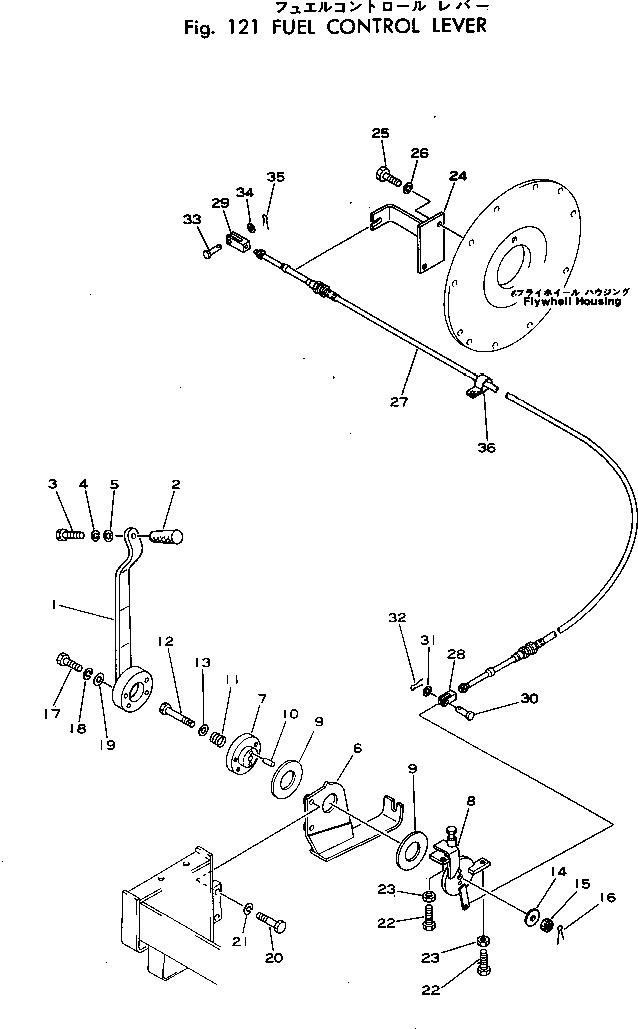
Запчасти Komatsu PC40-1 РЫЧАГ УПРАВЛ-Я ПОДАЧЕЙ ТОПЛИВА КОМПОНЕНТЫ ДВИГАТЕЛЯ И ЭЛЕКТРИКА

Схема запчастей Komatsu PC40-1 - РЫЧАГ УПРАВЛ-Я ПОДАЧЕЙ ТОПЛИВА КОМПОНЕНТЫ ДВИГАТЕЛЯ И ЭЛЕКТРИКА
FIT
1:1
100%

Артикул

Название

Примечание

Количество

|$0

20T-43-00011

LEVER ASS'Y

1

20T-43-13152

LEVER

2

09304-01240

KNOB

3

01050-31235

BOLT

4

01602-01236

WASHER,SPRING

5

01643-31232

WASHER

6

20T-43-13131

BRACKET

7

101-43-11310

DISC

8

20T-43-13160

LEVER

9

101-43-11281

FACING

10

04020-00616

PIN,DOWEL

11

154-43-14690

SPRING

12

01052-31265

BOLT

13

01640-21223

WASHER

14

101-43-11380

COVER

15

01593-11210

NUT

16

04050-13030

PIN,COTTER

17

01010-30845

BOLT

18

01602-00825

WASHER,SPRING

19

01643-30823

WASHER

20

01010-31245

BOLT

21

01602-01236

WASHER,SPRING

22

01016-30835

BOLT

23

01580-00806

NUT

24

20T-43-13141

BRACKET

25

01010-31035

BOLT

26

01602-01030

WASHER,SPRING

27

20T-43-12150

CABLE

28

04211-20500

YOKE

29

20T-43-12160

YOKE

30

04205-10516

PIN

31

01641-20508

WASHER

32

04050-11208

PIN,COTTER

33

04205-10616

PIN

34

01641-20608

WASHER

35

04050-11610

PIN,COTTER

36

08036-11214

CLIP

Выбрано товаров: 37