Запчасти Komatsu PC40-1 ЦИЛИНДР КОВША ГИДРАВЛИКА

Схема запчастей Komatsu PC40-1 - ЦИЛИНДР КОВША ГИДРАВЛИКА
FIT
1:1
100%

Артикул

Название

Примечание

Количество

|$0

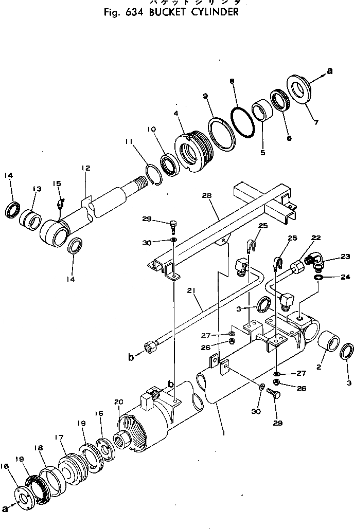
20T-63-76105

CYLINDER ASS'Y

1

20T-63-76143

CYLINDER

2

07143-10405

BUSHING

3

07145-00045

SEAL,DUST

4

707-29-90500

HEAD,CYLINDER

5

07177-05530

BUSHING

6

707-51-55110

PACKING,ROD

7

707-57-55530

RETAINER

8

07000-12105

O-RING

9

101-63-81230

RING,BACK-UP

10

707-56-55510

SEAL,DUST

11

07179-00077

RING,SNAP

12

20T-63-76120

ROD,PISTON

13

07144-10405

BUSHING

14

07145-00045

SEAL,DUST

15

07020-00675

FITTING,GREASE

16

707-40-90310

RETAINER

17

201-63-26170

PISTON

18

07155-00925

RING,WEAR

19

707-42-90012

PACKING,PISTON

20

07165-13638

NUT

21

20T-63-76180

TUBE

22

20--63-76190

TUBE

23

07235-10315

ELBOW

24

07002-12034

O-RING

25

07283-21529

CLIP

26

01598-00809

NUT

27

01643-30823

WASHER

28

20T-62-13450

COVER

29

01010-31025

BOLT

30

01602-01030

WASHER,SPRING

Выбрано товаров: 31